EasyManua.ls Logo

System Cleaners S2 - Pneumatic Assembly Parts

System Cleaners S2
48 pages
Print Icon
To Next Page IconTo Next Page
To Next Page IconTo Next Page
To Previous Page IconTo Previous Page
To Previous Page IconTo Previous Page
Loading...
Version 13 (08.2018. EN) (S2)
Page 15 of 48
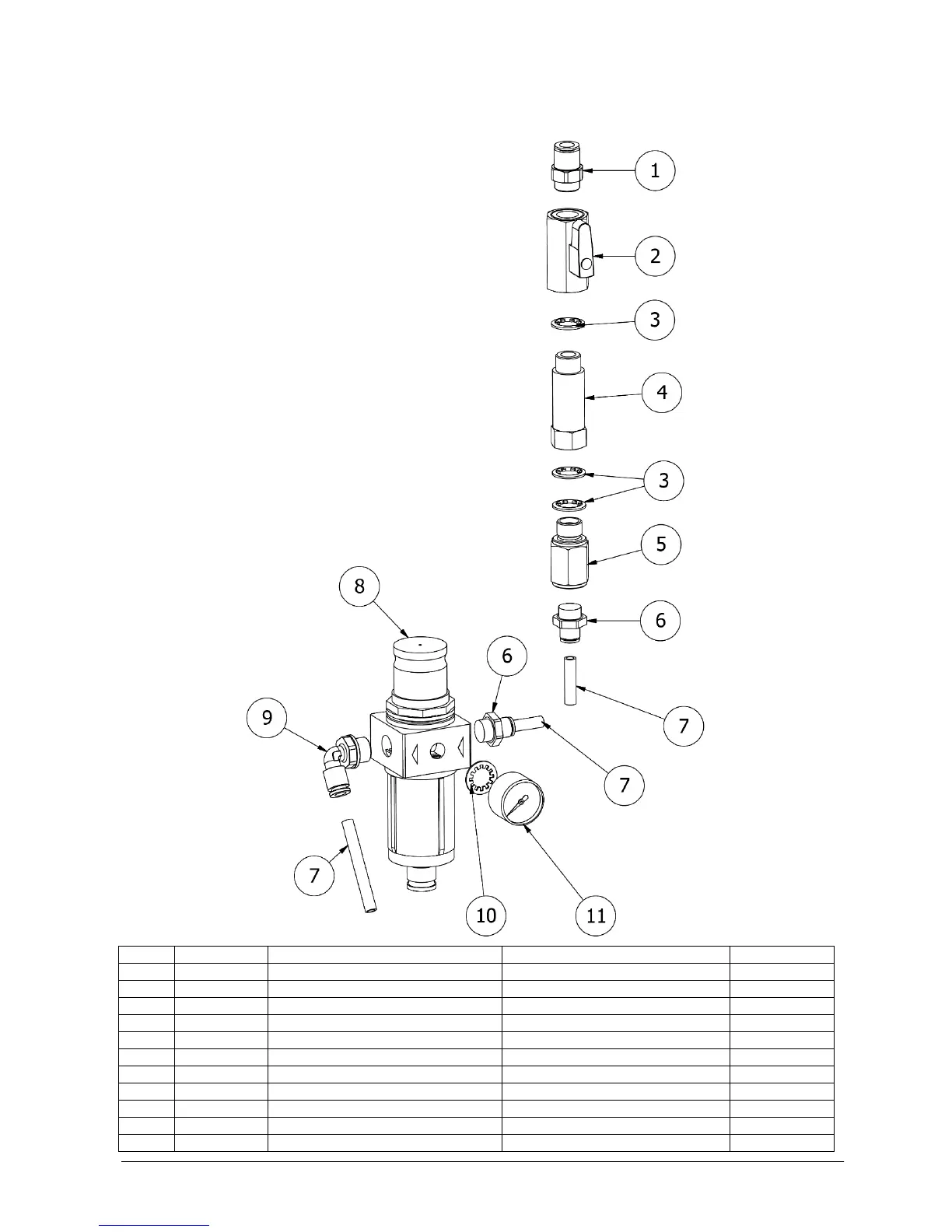
Pneumatic assembly
Pos.
Part no.
Description
Material
Version
1
15-000021
Air fitting 1/4"x8 (inside)
Nickel-plated brass/Plastic
Wall
2
20-000050
Ball valve 1/4"
Nickel-plated brass
All
3
17-000012
Gasket 1/4"
PA12
All
4
16-400010
Extension nipple 1/4"x50
Nickel-plated brass
All
5
20-200020
Non-return valve 1/4" air
AISI 316/NBR
All
6
15-010071
Air fitting 1/4"x6
Nickel-plated brass/Plastic
All
7
55-110040
Air hose ø6mm black
PA12
All
8
20-300042
Regulator with filter without gauge
-
All
9
15-010081
Air fitting 1/4"x6 elbow
Nickel-plated brass/Plastic
All
10
17-000072
Gasket 1/8"
Nylon
All
11
22-000071
Gauge ø20 0-10 bar
AISI 304/brass/glycerine
All

Related product manuals