EasyManua.ls Logo

SYSTEMS Poweramp PowerStop M - Periodic Maintenance

Default Icon
48 pages
Print Icon
To Next Page IconTo Next Page
To Next Page IconTo Next Page
To Previous Page IconTo Previous Page
To Previous Page IconTo Previous Page
Loading...
26
4111-0014 — Apr. 2020
©
2020 Systems, LLC
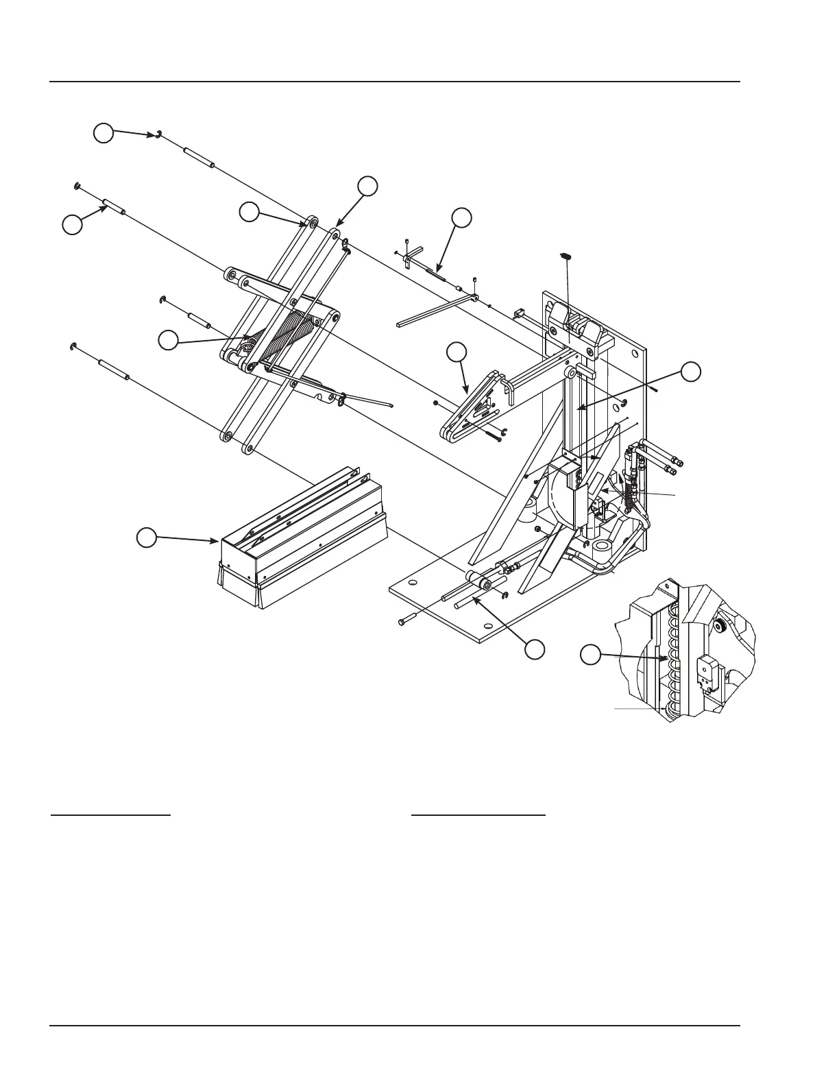
A - Scissors Assembly
B - Hook Weldment
C - Rear Vertical Track
D - Spring, Compression
E - RIG Sensor Bar
F - Bottom Slide Track
G - Debris Guard
H - Main Springs
I - Pin
J - E-Clip
K - Bearing
Figure 27
MAINTENANCE
Daily Maintenance
Clear any debris in or around unit to prevent
operation issues.
Make sure that all the inside and outside signal
lights work (if equipped).
Weekly Maintenance
Operate the vehicle restraint through the
complete operating cycle to maintain lubrication
of moving parts.
Inspect the rear vertical track area (C). The track
area must be kept free of dirt and debris.
DETAIL A
BILL OF MATERIAL
SIZEDESCRIPTIONPART NO.QTY
ITEM
PSTOP, DEBRIS GUARD ASSEMBLY
0195-005211
5-3/4" STROKEHYD CYLINDER ASM
0524-006412
CYL ASSY,PSTOP,RELEASE,1" STR
0524-010213
1.937 DIA X 7.02 LGSPRING, COMPRESSION
0941-00181
4
0.450 DIA X 1.75 LG X 0.059 WIRE DIASPRING,EXTENSION,S.S.
0941-00211
5
NO,20-250VACPROX SW,AC,FLAT
0961-053816
10-300VDC,TURCK BI2-Q10S-RZ31XPROX SW,AC/DC,N.C.,20-250VAC
0961-06141
7
1/2, METALCONNECTOR, TUBING
1431-023918
3-1/4 X 14-1/2DECAL - POWERAMP/POWERSTOP
1751-044419
6-1/2 X 2-1/4DECAL - DLM
1751-02461
DECAL - MCGUIRE
1751-06491
2.43x1.25x4MIL
DECAL, MADE IN USA
1751-0735110
EQUIPMENT AUTO STARTSDECAL,PINCH POINT
1751-1252111
DECAL,SERIAL NUMBER
1751-1290112
SOCKET CUP POINT, STAINLESSSCREW,SHSS,1/4-20 UNC X 0.38
2101-0032213
5/16-18 UNCNYLON LOCK NUT
2101-0039114
3/8-16 X 2HHCS - GRADE 2 - ZINC PLATED
2101-0089115
#10-24 UNCNYLON LOCK NUT
2101-0151316
#8 REGULAR SPLITWASHER, LOCK
2101-0156217
1/2"
E-RING
2101-0189818
1/2-13 UNC X 1FLAT HEAD CAP SCREW
2101-0228219
ZINC PLATEDSCREW,SHLDR,0.50 DIA X 0.375LG
2101-0335120
STAINLESS STEELWASHER,TAG HOLE,1/2"
2101-0336221
1/4" SHAFT DIA,ZINC PLATEDRING,RETAINING,EXTERNAL
2101-0349222
ZINC PLATEDSCREW,SHCS,5/16-18 X 1-3/8
2101-0373223
STAINLESS STEELSCREW,RHMS,TORX,#10-32 X 1/4
2101-0375224
ZINC PLATEDSCREW,RHMS,TORX,#4-40 X 7/8
2101-0376225
STAINLESS STEELSCREW,THMS,TORX,#10-24 X 2
2101-0377326
TORX,ZINC PLATEDSCREW,PHMS,#6-32 UNC X 0.63
2101-0388227
0.1x4,0.75 MAX BUNDLE
CABLE TIE
3051-0001328
0.499 DIA X 4.25 LGPIN,PIVOT,PSTOP,LONG
9202-0042229
0.499 DIA X 3.00 LGPIN,PIVOT,PSTOP,SHORT
9202-0043230
ZINC PLATED,725 RV,0.94 GPMPPAC,PS18-AAL/HNL,1PH,115V
9395-0414
REF
31
SHROUD,PSTOP,RELEASE CYL
9411-0065132
PSTOP RIG SENSOR BAR PIN
9411-0103133
PSTOP RIG SENSOR CONNECTION
9411-0104134
OUTSIDE OF HOOKPSTOP RIG SENSOR BAR
9411-0105135
0.375 OD X 0.260 ID X 0.5 LGTBG, RIG SENSOR BAR SPACER
9411-0107136
1-1/4 OD X 9/16 ID X 0.594
TUBE
9412-0161237
CONDUIT,1/4,SPLIT FLEX,35" LG
9412-0289138
SCISSOR LIFT ASSY,PSTOP
9413-0062139
1-1/8 OD X 11/16 ID X 0.53 LGSPACER ASSY,PSTOP-A,YLW DICH
9413-0069240
PSTOP LIP DEFLECTOR
9413-0121141
LOW PROFILEPOWERSTOP HOOK WELDMENT
9413-0127142
TALL PROFILEPOWERSTOP HOOK WELDMENT
9413-01231
FINAL BASE WLDT - 27" - PSTOP
9414-0083143
#4 JICF SWIVEL BOTH ENDSHYD HOSE ASM - 1/4"100R1 X 24.00
9904-00972
44
#4 JICF SWIVEL BOTH ENDSHYD HOSE, 1/4" 100R1 X 96 LG
9904-0119
REF45
#4 JICF SWIVEL BOTH ENDSHYD HOSE, 1/4" 100R1 X 180 LG
9904-0098
REF
A
TOLERANCES
(UNLESS OTHERWISE NOTED)
FRACTIONAL:
1/32"
DECIMAL:
.00 =
.01"
.000 =
.005"
ANGULAR:
1
DRAWN BY
CHECKED BY
DRAWING NO.
DATE
BDK 8/24/2016
S Y S T E M S, I N C.
L o a d i n g D o c k E q u i p m e n t
P O W E R A M P
M C G U I R E
D L M
This print is the property of Systems, Inc. and represents a proprietary article in which Systems, Inc. retains any and all patent and other rights, including exclusive rights
of use and/or manufacture and/or sale. Possession of this print does not convey any permission to reproduce, print or manufac
ture the article or articles shown therein,
such permission to be granted only by written authorization signed by an officer or other authorized agent of Systems,Inc. thereof.
MATERIAL
STOCK NO.
9415-0062
FINAL ASM - PSTOP/STOPTITE 2018
(24.88)
1
2
(29.31)
4
3
VIEW FOR REFERENCE ONLY
REFER TO SHOP ORDER TO
SEE IF PPAC IS REQUIRED
NOTE DESCRIPTION
1
POWERAMP, DLM, MCGUIRE DECAL OPTION
2
USED ONLY WHEN SHIPPING
3
ITEMS TO BE SHIPPED LOOSE WITH UNIT
4
HOSES ARE USED TO CONNECT TO PPAC, SEE SHOP ORDER FOR
REQUIRED LENGTH
(15.50)
AA
19-087
1/31/2020 DEBRIS GUARD WAS BELLOWS
Z
19-110
1/15/2020
1751-1290 QTY 1 WAS XMS1-0663 QTY 1
Y
19-078
10/7/19
2101-0372 WAS 2101-0012
X
19-082
9/10/19
REPLACED PHILLIPS/FLATHEAD
HARDWARE
W
19-025
2/7/19
REMOVED 2753-0004 QTY REF
V
18-124
10/2/18
ADDED 1751-1252 QTY 1
U
18-094
7/25/18
9395-0414 QTY REF WAS 9395-0407
QTY REF
T
18-048
6/7/18
XMS1-0663 QTY 1 WAS XMS1-0529 QTY
1
S
18-064
4/13/18 2101-0356 WAS 2101-0187
(27.19)
31
Periodic Maintenance
K
Detail A
Detail A
A
B
C
E
J
F
H
G
I
D