EasyManua.ls Logo

T-Drill T-60 - Fitting Older T-DRILL Heads

T-Drill T-60
46 pages
Print Icon
To Next Page IconTo Next Page
To Next Page IconTo Next Page
To Previous Page IconTo Previous Page
To Previous Page IconTo Previous Page
Loading...
INSTRUCTION MANUAL
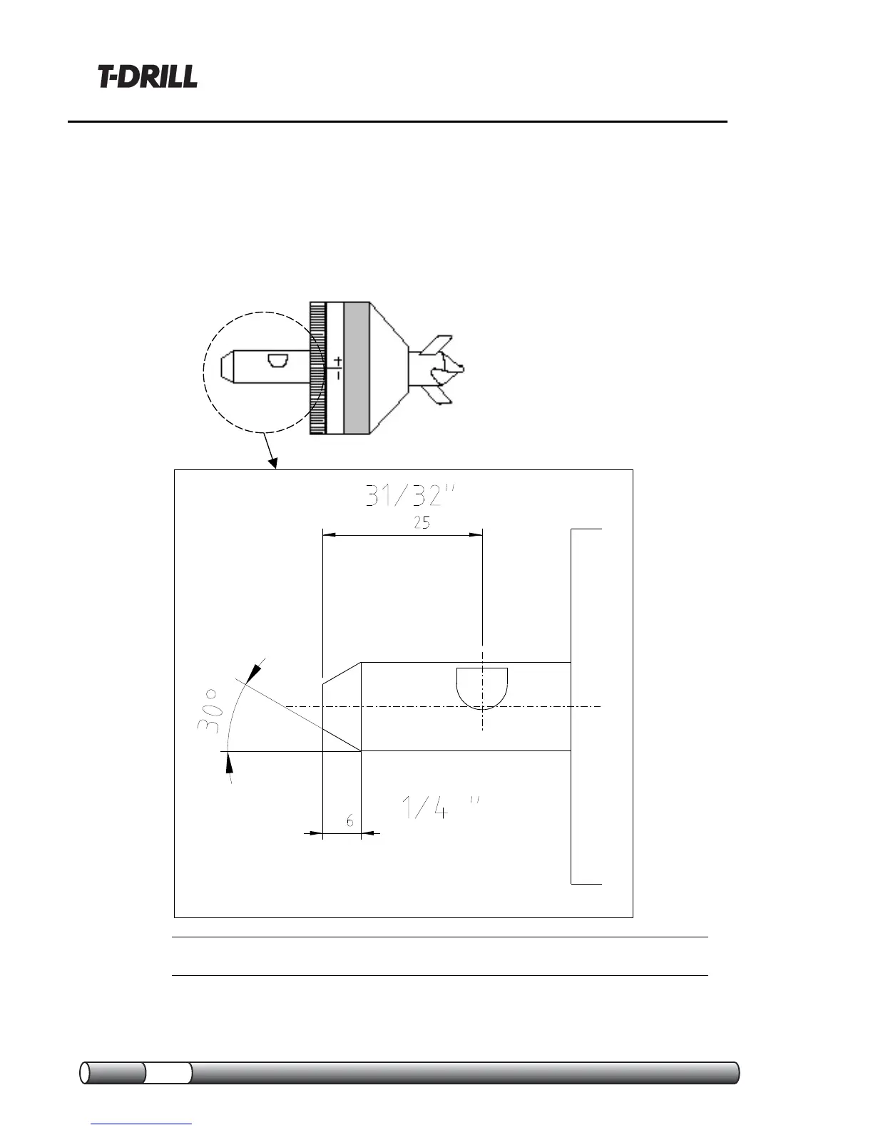
6.3.3 Fitting the old T-DRILL heads to the T-60 –machine
If you have old 42/1½ or 54 /2 T-DRILL heads, you can use them in
T-DRILL T-60 after shortening the drill core as described below. Without
shortening the drill cores of old T-DRILL heads do not fit in the chuck of
the T-60.
6.3.3 Shortening the drill core. The distance between the center line of the
draft hole and the core end has to be 31/32” (25 mm).
22