EasyManua.ls Logo

Taie FA230 - Level 2 (PID Level) All Parameters Display

Default Icon
89 pages
Print Icon
To Next Page IconTo Next Page
To Next Page IconTo Next Page
To Previous Page IconTo Previous Page
To Previous Page IconTo Previous Page
Loading...
FY operation manual 30
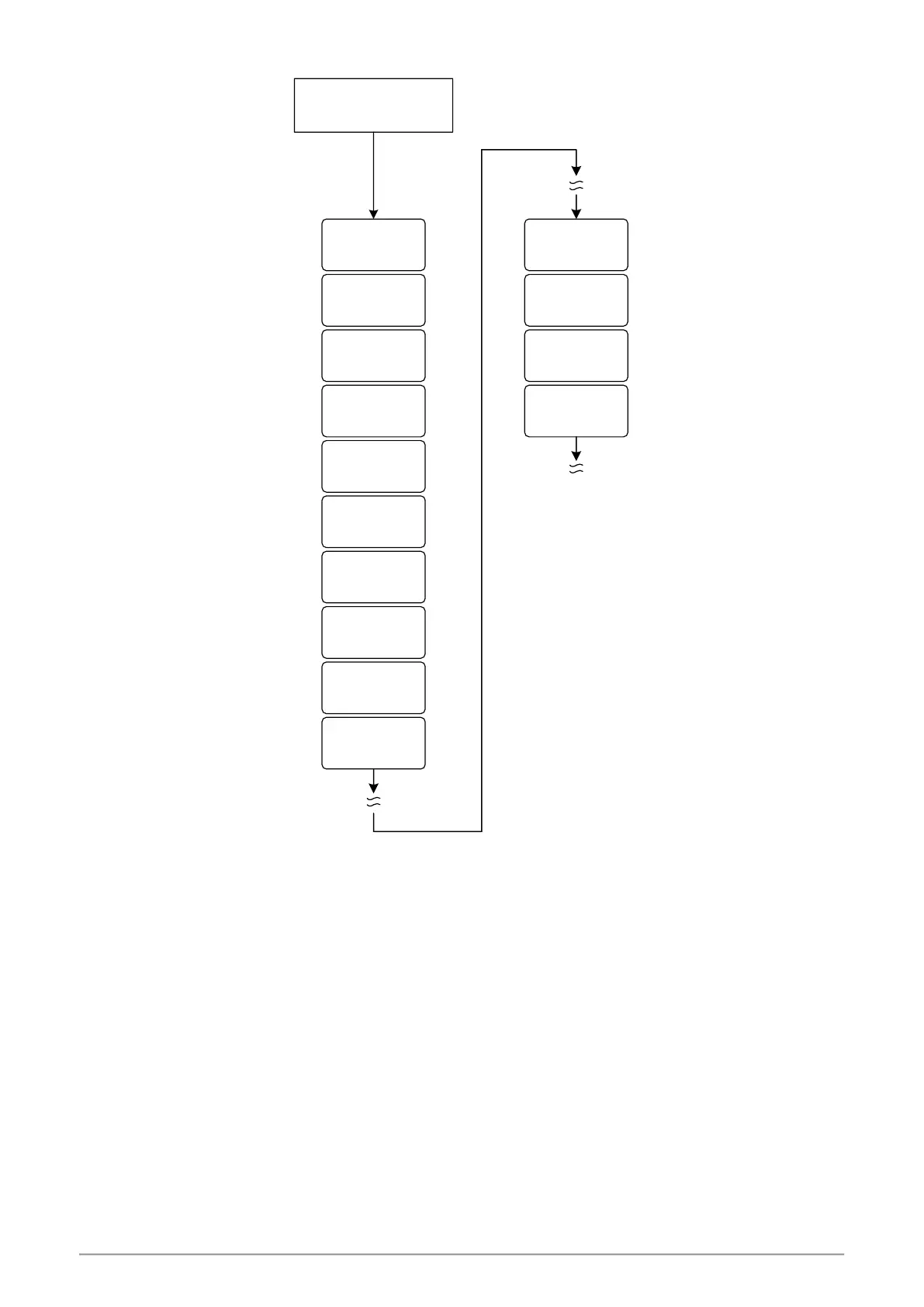
10.6 Level 2 (PID Level) All Parameters Display
Level 2
Press SET key
HYS2
CYT2
I1
Main output
integral time
D1
Main output
derivative time
AT.VL
Auto tuning offset value
CYT1
Main output
control cycle
HYS1
Hysteresis for
main output
P2
sub output
proportional band
I2
sub output integral time
D2
sub output
derivative time
CYT2
sub output control cycle
HYS2
Hysteresis for
sub output
P1
Main output
proportional band
GAP1
Control gap
(for main output)
GAP2
Control gap
(for sub output)
LCK
Function or level lock
P1
If no key is pressed within 60 seconds, it will automatically return to LEVEL 1 (user level) and display PV/SV

Table of Contents