EasyManua.ls Logo

Tascam CD-355 - Connection; Audio Output Connections; Power Connection

Tascam CD-355
18 pages
Print Icon
To Next Page IconTo Next Page
To Next Page IconTo Next Page
To Previous Page IconTo Previous Page
To Previous Page IconTo Previous Page
Loading...
10 TASCAM CD-355
CAUTION:
< Switch off the power to all equipment before making
connections.
< Read the instructions of each component you intend to use
with this unit.
< Be sure to insert each plug securely. To prevent hum and
noise, avoid bundling the signal interconnection cables
together with the AC power cord or speaker cables.
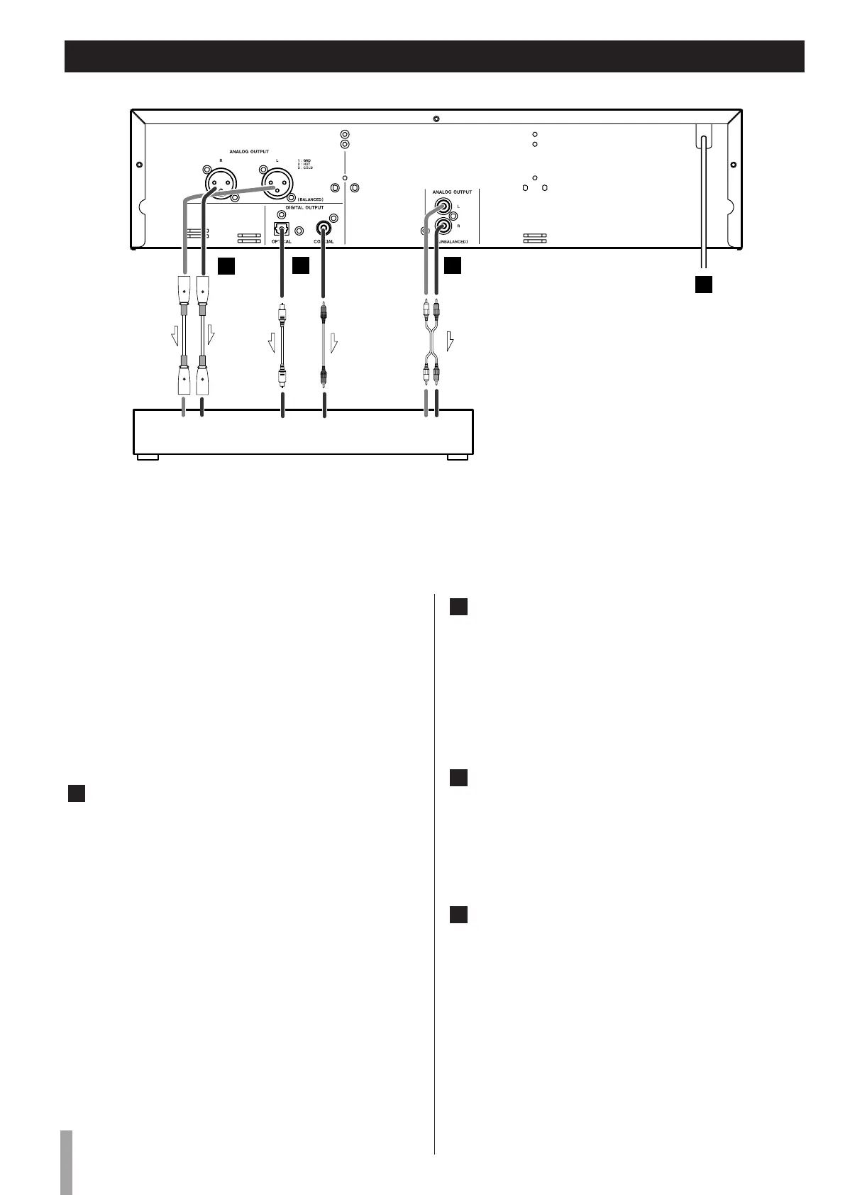
A
DIGITAL OUT terminal
Connect the digital output terminal to the digital input
terminal of a digital device such as a CD recorder, MD deck,
etc. Use a commercially-available optical or coaxial digital
cable.
< Keep the supplied cap to cover the optical digital terminal
when it is not in use.
Connection
ANALOG IN
ANALOG IN
DIGITAL IN
COAXIALOPTICAL
L R
BALANCED
L R
UNBALANCED
A
C
B
Audio device (CD Recorder, Amplifier, etc.)
D
B
LINE OUT jack
Analog 2-channel audio signal is output from this jack.
Connect this jack to the input jack of the Audio device with
an RCA.
Make sure to connect : RCA
white plug
q white jack (L: left channel)
red plug
q red jack (R: right channel)
C
ANALOG OUT (BALANCED) (L, R)
These XLR connectors output analog audio signals at +4 dBu
to suitably-equipped units.
Make sure to connect : XLR
1=GND, 2=HOT, 3=COLD
D
AC Power Cord
After all other connections are complete, connect the plug
to the AC wall socket.
Be sure to connect the power cord to an AC outlet which
supplies the correct voltage.
Grasp the plug, not the cord when plugging or unplugging
the power cord.

Other manuals for Tascam CD-355

Related product manuals