EasyManua.ls Logo

Tascam CD-6010 - Flash-loading cue points; Relay playback

Tascam CD-6010
40 pages
Print Icon
To Next Page IconTo Next Page
To Next Page IconTo Next Page
To Previous Page IconTo Previous Page
To Previous Page IconTo Previous Page
Loading...
TASCAM CD-6010 31
6 – Various Playback Functions
Flash-loading cue points:
ª
Set cue points are loaded into memory.
NOTE
The flash start function is only possible with audio CDs.
The flash start function is not possible with data CDs.
When playing back using the flash start function, the
auto-cue and auto-ready functions are disabled.
Using the front panel buttons:
1 To use a program to flash start tracks, program the
tracks in advance and set the playback mode to
program playback. To flash start using cue points,
set the cue points in advance and turn the cue mode
ON (CUE indicator appears).
2 Press the FLASH button.
3 While the beginnings of the tracks or cue points are
being loaded into memory, the word
FLASH
blinks
on the display. After loading completes,
FLASH
01-10
appears on the display, the FLASH indicator
lights and the Á PLAY indicator blinks.
4 Press the number button for the program number
(when program set), track number (when program
not set) or cue number (for cue point flash start) that
you want to play.
To select numbers between 11 and 20, press the
+10 button, so that
FLASH 11-20
appears on the
display, and then press the corresponding number
button. Press the +10 button again to return to
FLASH 1-10
.
Using the remote control:
1 To use a program to flash start tracks, program the
tracks in advance and set the playback mode to
program playback. To flash start using cue points,
set the cue points in advance and turn the cue mode
ON (CUE indicator appears).
2 Press the FLASH button.
3 While the beginnings of the tracks are being loaded
into memory, the word
FLASH
blinks on the display.
After loading completes,
FLASH 01-10
appears
on the display, the FLASH indicator lights and the Á
PLAY indicator blinks.
4 Press the number button for the program number
(when program set), track number (when program
not set) or cue number (for cue point flash start) that
you want to play.
To select numbers between 11 and 20, press the
CLEAR button, so that
FLASH 11-20
appears
on the display, and then press the corresponding
number button. Press the CLEAR button again to
return to
FLASH 1-10
.
Exiting flash start mode
ª
Press the FLASH button on the unit or the remote
control. The FLASH indicator will become unlit.
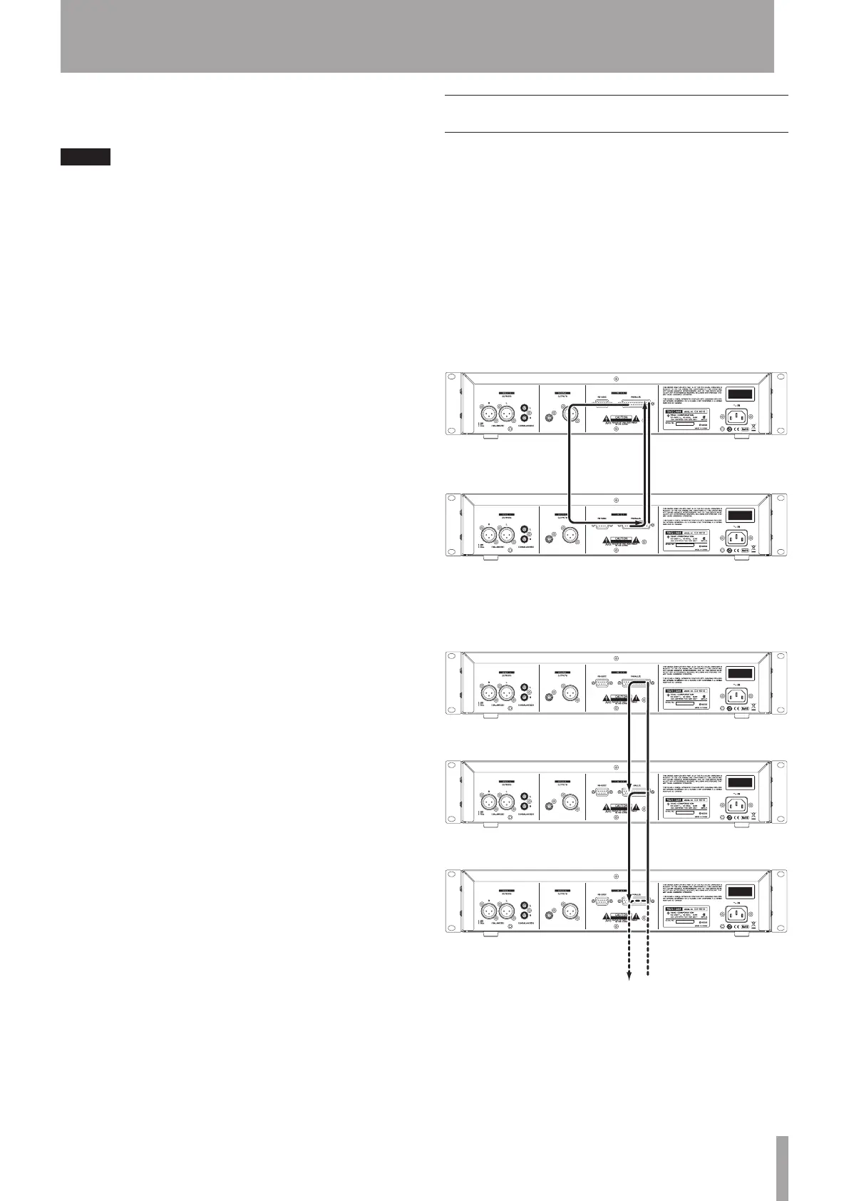
Relay playback
Multiple CD-6010 units can be used together and set
so that when playback ends on one unit, playback can
automatically start on another unit.
To do this, connect the CONTROL I/O PARALLEL
connector "23 EOM DISC TALLY" pin on the rear panel
of one unit to the CONTROL I/O PARALLEL connector
"2 PLAY" pin on another unit with a cable and set
DIS C
EOM
to
0
on both units. (See "End of disc warning (DISC
EOM)" on page 32.)
By connecting two CD-6010 units in both directions as
shown in illustration below, alternating playback between
them is possible.
1pin/GND
1pin/GND
2pin/PLAY
23pin/
EOMDISCTALLY
23pin/
EOMDISCTALLY
2pin/PLAY
By connecting three or more CD-6010 units in sequence
(CONTROL I/O PARALLEL "2 PLAY" to CONTROL I/O
PARALLEL "EOM DISC TALLY") as shown below, automatic
playback of one unit after the other is possible.
2pin/PLAY
23pin/EOMDISCTALLY
1pin/GND
1pin/GND2pin/PLAY
23pin/EOMDISCTALLY
1pin/GND
1pin/GND2pin/PLAY
23pin/EOMDISCTALLY
1pin/GND
1pin/GND

Table of Contents

Other manuals for Tascam CD-6010

Related product manuals