EasyManua.ls Logo

Teac A-2300SD - Simplified Diagrams; Block Diagram; Level Diagrams

Teac A-2300SD
50 pages
Print Icon
To Next Page IconTo Next Page
To Next Page IconTo Next Page
To Previous Page IconTo Previous Page
To Previous Page IconTo Previous Page
Loading...
8.
SIMPLIFIED
DIAGRAM
8-1
BLOCK
DIAGRAM
8-2
LEVEL
DIAGRAMS
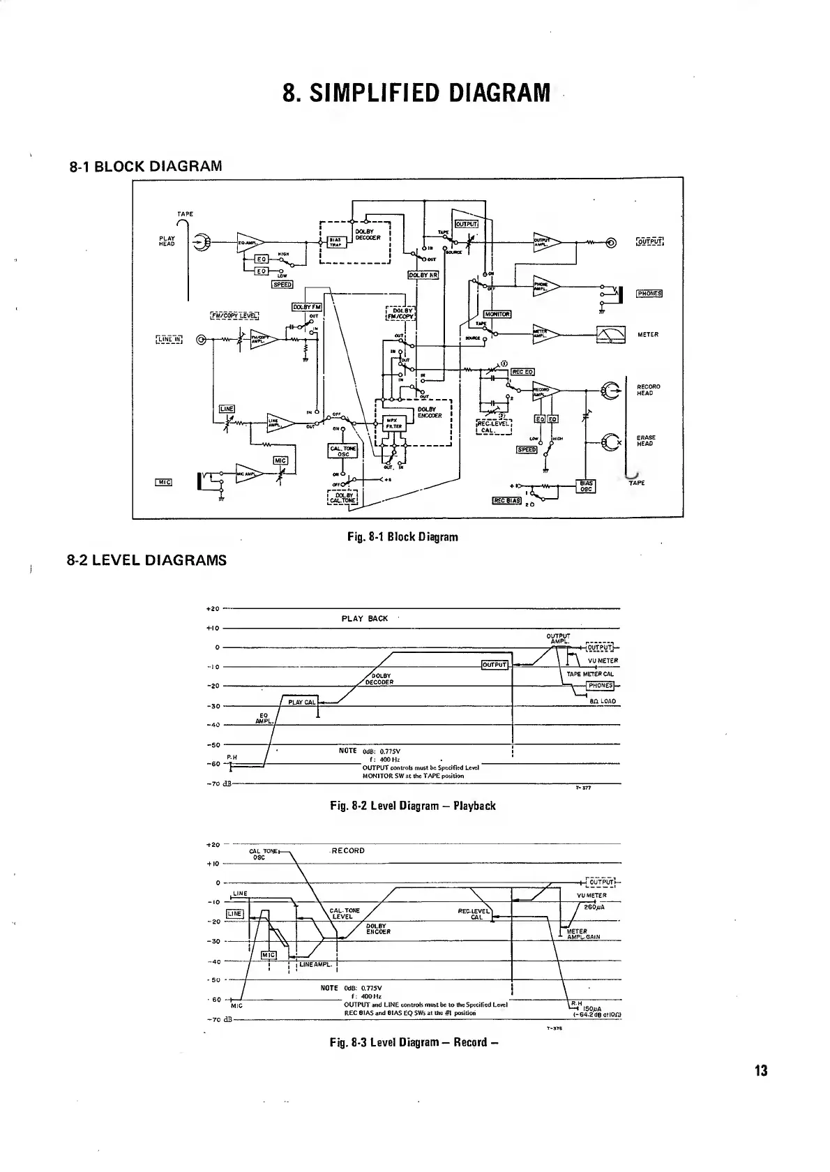
Fig.
8-1
Block
Diagram
+20
]
VU
METER
y^OLBY
/DECODER
\
TAPE
METER
CAL
/
PLAY
CAL
1
sn
LOAD
^rr
]
AMPL./
OdB:
0.775V
_
f:
400Hz
OUTPUT
controls
must
be
Specified
Level
MONITOR
SW
at
the
TAPE
posiUon
Fig.
8-2
Level
Diagram
-
Playback
Fig.
8-3
Level
Diagram
-
Record
T-37«

Related product manuals