EasyManua.ls Logo

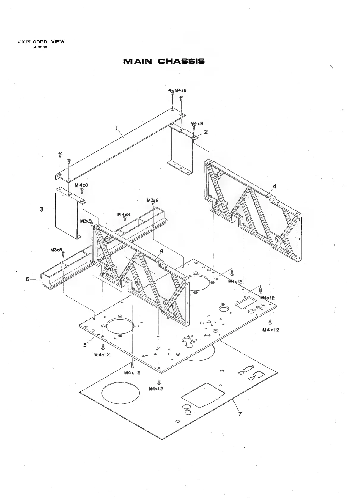
Teac A-3340 - MAIN CHASSIS PARTS

Teac A-3340
102 pages
Print Icon
To Next Page IconTo Next Page
To Next Page IconTo Next Page
To Previous Page IconTo Previous Page
To Previous Page IconTo Previous Page
Loading...
EXPLODED
VIEW
A-3300
MAIN
CHASSIS

Other manuals for Teac A-3340

Related product manuals