EasyManua.ls Logo

Teac A-7010 - Page 13

Teac A-7010
33 pages
Print Icon
To Next Page IconTo Next Page
To Next Page IconTo Next Page
To Previous Page IconTo Previous Page
To Previous Page IconTo Previous Page
Loading...
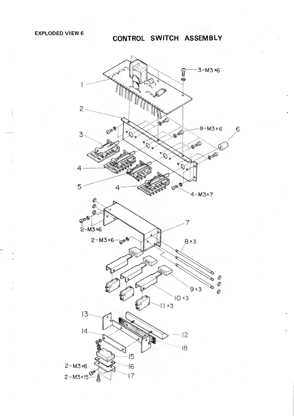
EXPLODED
VIEW
6
CONTROL
SWITCH
ASSEMBLY

Related product manuals