EasyManua.ls Logo

Teac X-2000R - Page 32

Teac X-2000R
67 pages
Print Icon
To Next Page IconTo Next Page
To Next Page IconTo Next Page
To Previous Page IconTo Previous Page
To Previous Page IconTo Previous Page
Loading...
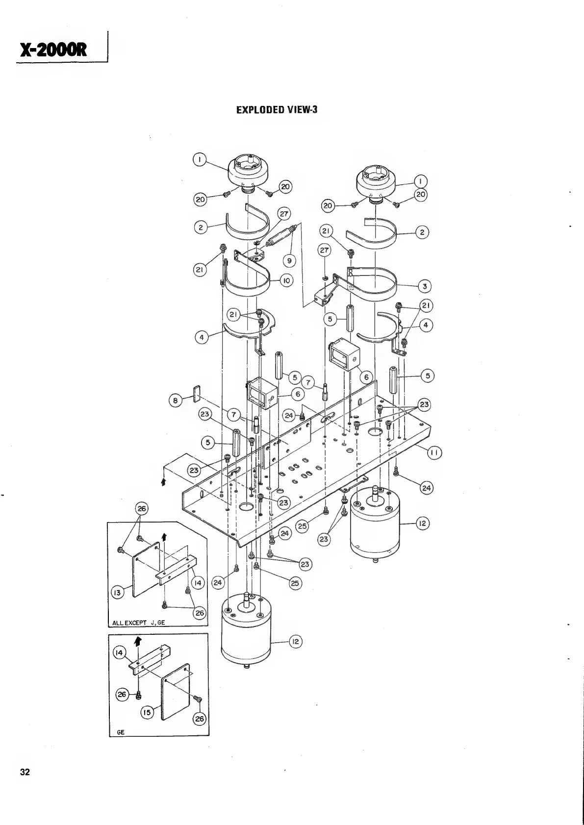
X-2000R
EXPLODED
VIEW-3
32

Related product manuals