EasyManua.ls Logo

TECALEMIT TEC4004 - Appendice A Informazioni; Appendice B Parti DI Ricambio Pag.39; Special Notes; Appendix A Special Notes Page 39

TECALEMIT TEC4004
53 pages
Print Icon
To Next Page IconTo Next Page
To Next Page IconTo Next Page
To Previous Page IconTo Previous Page
To Previous Page IconTo Previous Page
Loading...
APPENDICE A INFORMAZIONI
PARTICOLARI
SMALTIMENTO OLIO ESAUSTO
L’o lio esau sto, che vie ne estrat to dal la cen tra li na e dall’im pian to
du ran te il cam bio olio, deve es se re trat ta to come pro dot to in qui
-
nan te, se con do le pre scri zio ni le gi sla ti ve del pae se in cui è in stal la
-
to il sol le va to re.
DEMOLIZIONE DELLA MACCHINA.
DU RAN TE LA DE MO LI ZIO NE DEL LA MAC CHI NA DE VO NO
ES- SE RE OS SER VA TE TUT TE LE PRE CAU ZIO NI DI SI CU REZ -
ZA IL LU STRA TE AL CA PI TO LO 3 E VA LI DE PER IL MON TAG -
GIO.
La de mo li zio ne del la mac chi na deve es se re ef fet tua ta da tec ni ci
au to riz za ti, come per il mon tag gio.
L’o lio esau sto deve es se re eli mi na to se con do le mo da li tà in di ca te
all’ap pen di ce “A”
Le par ti me tal li che pos so no es se re rot ta ma te come rot ta mi fer ro si.
In ogni caso tut ti i ma te ria li de ri va ti dal la de mo li zio ne de vo no es se -
re smal ti ti in ac cor do alla nor ma ti va vi gen te del pae se in cui il pon -
te è in stal la to.
Si ri cor da inol tre che, ai fini fi sca li, oc cor re do cu men ta re l’av ve nu ta
de mo li zio ne pro du cen do de nun ce e do cu men ti se con do la le gi sla
-
zio ne vi gen te nel pae se in cui il pon te è in stal la to, al mo men to del -
la de mo li zio ne stes sa.
APPENDICE B PARTI DI RICAMBIO
RICAMBI
la so sti tu zio ne dei pez zi e gli in ter ven ti di ri pa ra zio ne ri chie do -
no il ri spet to di TUT TE LE PRE CAU ZIO NI DI SI CU REZ ZA in di -
ca te al ca pi to lo 6 “Ma nu ten zio ne” ed al ca pi to lo 3 “Si cu rez za”.
Adot ta re tut ti i prov ve di men ti uti li per
EVI TA RE L’AV VIA MEN TO AC CI DEN TA LE DEL SOL LE VA TO -
RE:
l’in ter rut to re sul qua dro del sol le va to re deve es se re bloc ca to in
po si zio ne 0 col luc chet to;
la chia ve del luc chet to deve es se re pre sa in con se gna dal ma -
nu ten to re per tut ta la du ra ta dell’in ter ven to.
PROCEDURA PER L’ORDINAZIONE DEI PEZZI DI RICAMBIO.
Per or di na re pez zi di ri cam bio oc cor re:
in di ca re il nu me ro di ma tri co la del sol le va to re e l’an no di co stru -
zio ne;
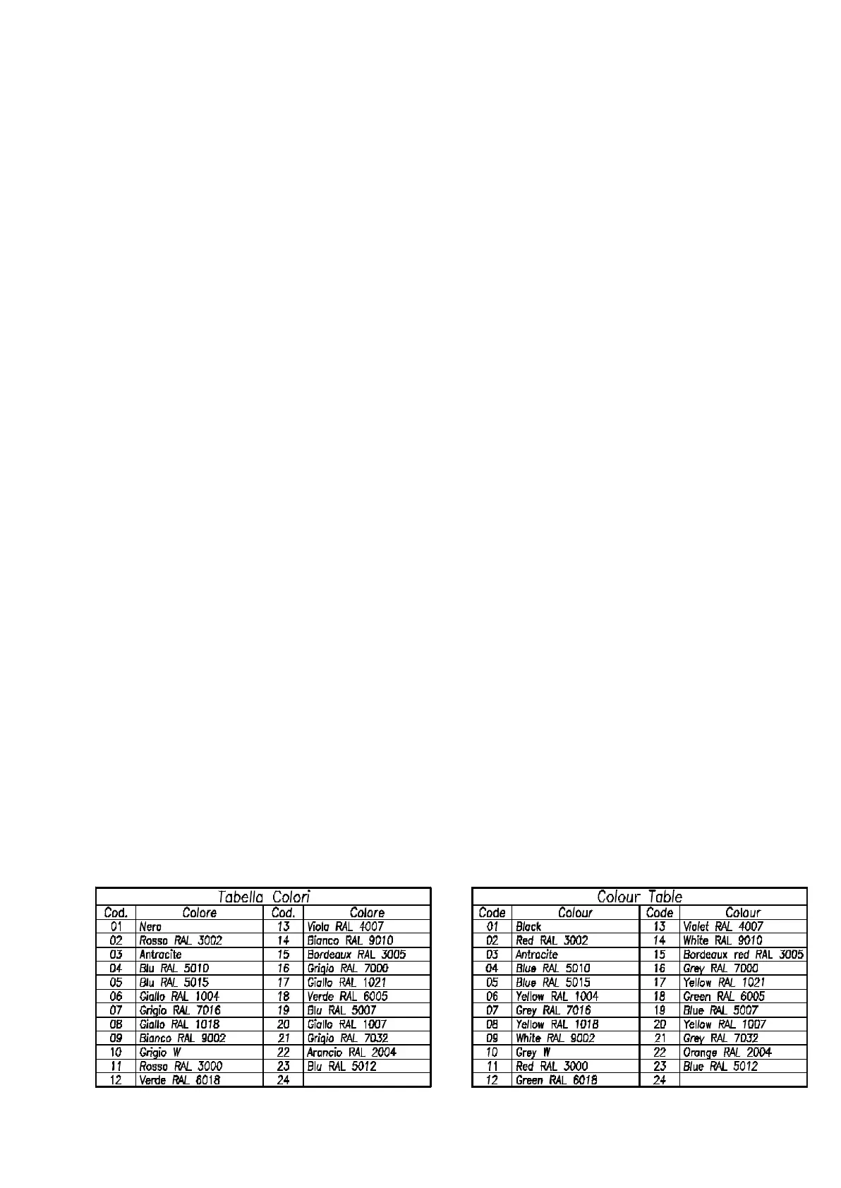
in di ca re il co di ce del pez zo ri chie sto (ve de re nel le ta bel le le co
-
lon ne “co di ce”). Se nel le ul ti me due po si zio ni del co di ce com
-
paio no due “X” (es.: B5014XX) si gni fi ca che il pez zo può es se re
in di ver se co lo ra zio ni. Per ave re il co di ce pre ci so, so sti tui re le X
con il co di ce co lo re ri por ta to nel la ta bel li na sot to stan te.
in di ca re la quan ti tà ri chie sta.
La ri chie sta deve es se re fat ta al ri ven di to re au to riz za to in di ca to nel
fron te spi zio.
APPENDIX A SPECIFIC
INFORMATION
DISPOSAL OF USED OIL.
Used oil drained from the reservoir of the hydraulic power unit
during oil changes is to be treated as a pollutant in accordance with
the legislation in force in the country where the lift is installed.
SCRAPPING THE MACHINE
WHEN SCRAPPING THE MACHINE OBSERVE ALL PRECAU-
TIONS ILLUSTRATED IN CHAPTER 3, ADOPTED ALSO
DURING MACHINE ASSEMBLY.
The machine can only be scrapped by authorised technicians, as
in the case of assembly.
Used oil must be disposed of in compliance with the methods indica-
ted in appendix “A”.
Metal parts of the lift can be disposed of as scrap ferrous material.
In all cases when the machine is scrapped all materials must be
disposed of in conformity with the laws in force in the country of
installation of the machine.
Note also that for tax purposes the effective scrapping of the machine
must be documented with reports and forms in compliance with the
laws in force in the country of installation.
APPENDIX B SPARE PARTS
SPARE PARTS
The replacement of parts and repair interventions require the
full observance of ALL SAFETY PRECAUTIONS listed in chapter 6
“Maintenance” and chapter 3 “SAFETY.
Take all necessary steps to AVOID POWERING UP THE LIFT
INAD VER TENTLY:
the main switch on the control panel must be locked out in position
0;
the lockout key must be kept by the maintenance fitter for the full
duration of maintenance work.
ORDERING PROCEDURE FOR SPARE PARTS
To order spare parts:
specify the serial number and year of construction of your lift;
specify the part code required (refer to the “codes” column in the
ta bles).
If in the two last posts of the code there are two “X”
(e.g. B5014XX), that means the part is available in different
colours. If you want the exact code, just replace “X” with the colour
code given in the table below.
specify the quantity required.
The order must be made to the licensed dealer specified on the title
page.
39