EasyManua.ls Logo

Technics SH-DV250 - Page 25

Technics SH-DV250
40 pages
Print Icon
To Next Page IconTo Next Page
To Next Page IconTo Next Page
To Previous Page IconTo Previous Page
To Previous Page IconTo Previous Page
Loading...
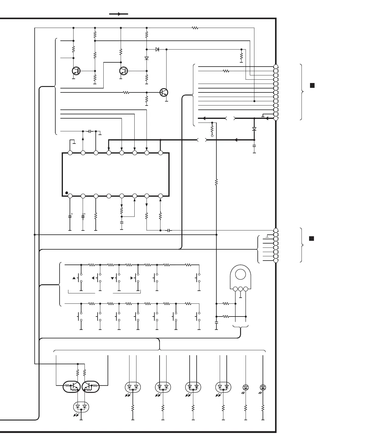
IC602
M62457AFPE1
SPEANAAMP
1
2
13
3
4
5
6
7
8
9
10
11
12
2
1
3
4
5
6
7
8
FW602B
DSP DIO
SP INPUT
DSP CK
DSP ACK
DSP RST
DSP SNS
DSP CS
A.GND
CD REQ
CS
S CLK
SDATA
DECK REQ
SYNC
FL2
FL1
SA DATA
SA CLK
CS/ REQ
D.GND
+B(5.6V)
To MAIN
CIRCUIT(FW601A)
on SCHEMATIC
DIAGRAM-9
B
FW601B
To MAIN
CIRCUIT(FW602A)
on SCHEMATIC
DIAGRAM-4
B
C620
50V0.1
C621
50V0.1
R648
100K
R649
100K
C622
0.1
R650
100K
R651
1K
C623
0.1
C618
0.01
C619
0.01
D606
MA165TA
R624
180
R625
180
R626
180
R627
180
R628
180
R629
180
D617
SML79455C
(SUPER
SOUND EQ)
D616
SML79455C
(CENTER FOCUS)
D615
SML79455C
(VIRTUAL REAR
SURROUND)
D614
SML79455C
(MULTI REAR
SURROUND)
D613
SML79455C
(SEAT POSITION)
D612
LNJ301MPUJAD
(DOLBY PRO LOGIC)
D611
LNJ301MPUJAD
(SUPER SURROUND )
R655
10K
R654
10K
R653
4.7K
R652
4.7K
R657
47K
R661
22K
D607
MA165TA
R660
47K
D608
MA165TA
R656
10K
R659
4.7K
R658
4.7K
Q602 Q603
Q604
SCHEMATIC DIAGRAM-2
Q602-604
2SC3311ATA
INTERFACE
R636
2.2K
R635
1.8K
R634
1.5K
R633
1.2K
R632
1K
R631
820
S606
(VIRTUAL REAR
SURROUND)
S605
(CENTER FOCUS)
S604
(SUPER
SOUND EQ)
S602
(DOLBY
PRO LOGIC
OFF/ ON)
S601
(DISPLAY MODE)
R642
2.2K
R641
1.8K
R640
1.5K
R639
1.2K
R638
1K
R637
820
S603
(SUPER
SURROUND)
S611
()
S610
()
S609
()
S608
()
S612
(SUPER
3D AI EQ)
S613
(SEAT POSITION)
S607
(MULTI REAR
SURROUND)
9101112131415
ANF
A OUT
CNF
C OUT
DIF OUT
IREF
VREF
Vcc2
Vcc
A
B
C
ENB
GND1
GND2
PH OUT
8765
4
3
2
1
16
g
N
M
B
A
P
q
p
r
k
h
i
j
Q
R
m
n
TUCDEFGHIJKL
Z
a
b
f
d
e
R691
220
R692
220
Q605,606
UN5211TX
LED DRIVE
Q605 Q606
R668
2.2K
V
R647
22K
C624
0.01
R646
2.2K
S
321
S614
(MULTI JOG)
YX
(JOY STICK)
R666
47K
R665
47K
R612 1K
W
O
:POSITIVE VOLTAGE LINE
5.6V
5V
5V2.3V2.3V1.5V5V0V
2.5V2.5V2.5V2.5V2.5V1.5V2.4V
4.6V
4.9V
1.9V0V
4.9V
0V
0.5V
0V
0.5V
1.2V
0.4V
2.7V

Related product manuals