EasyManua.ls Logo

Technics ST-CH505 - Cabinet Assembly Breakdown

Technics ST-CH505
24 pages
Print Icon
To Previous Page IconTo Previous Page
To Previous Page IconTo Previous Page
Loading...
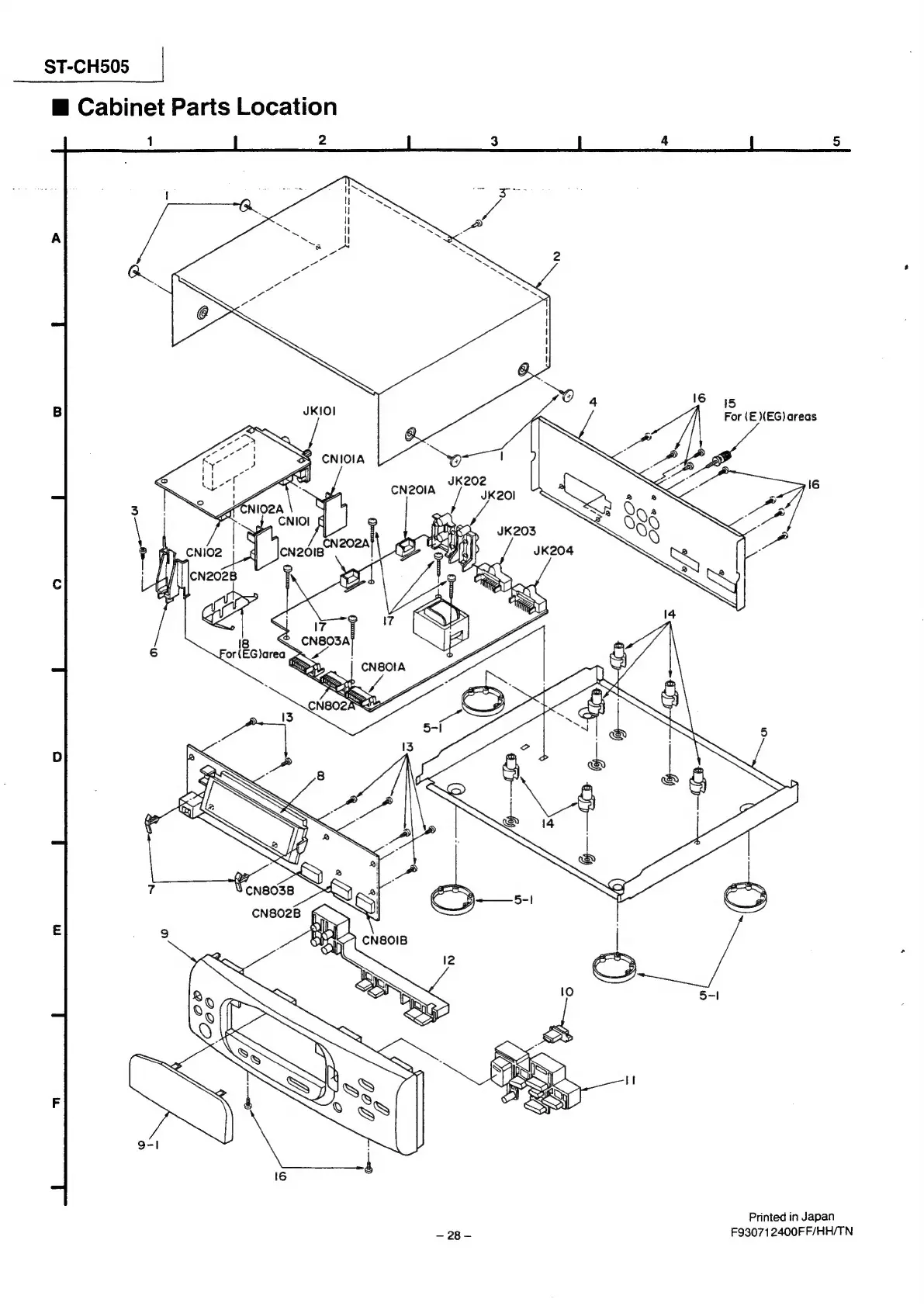
ST-CH505
|
@
Cabinet
Parts
Location
For
(E
(EG)
areas
Printed
in
Japan
-—28-
F930712400FF/HH/TN

Related product manuals