EasyManua.ls Logo

TECHWOOD STR-84 - Display Indicators

TECHWOOD STR-84
22 pages
Print Icon
To Next Page IconTo Next Page
To Next Page IconTo Next Page
To Previous Page IconTo Previous Page
To Previous Page IconTo Previous Page
Loading...
10
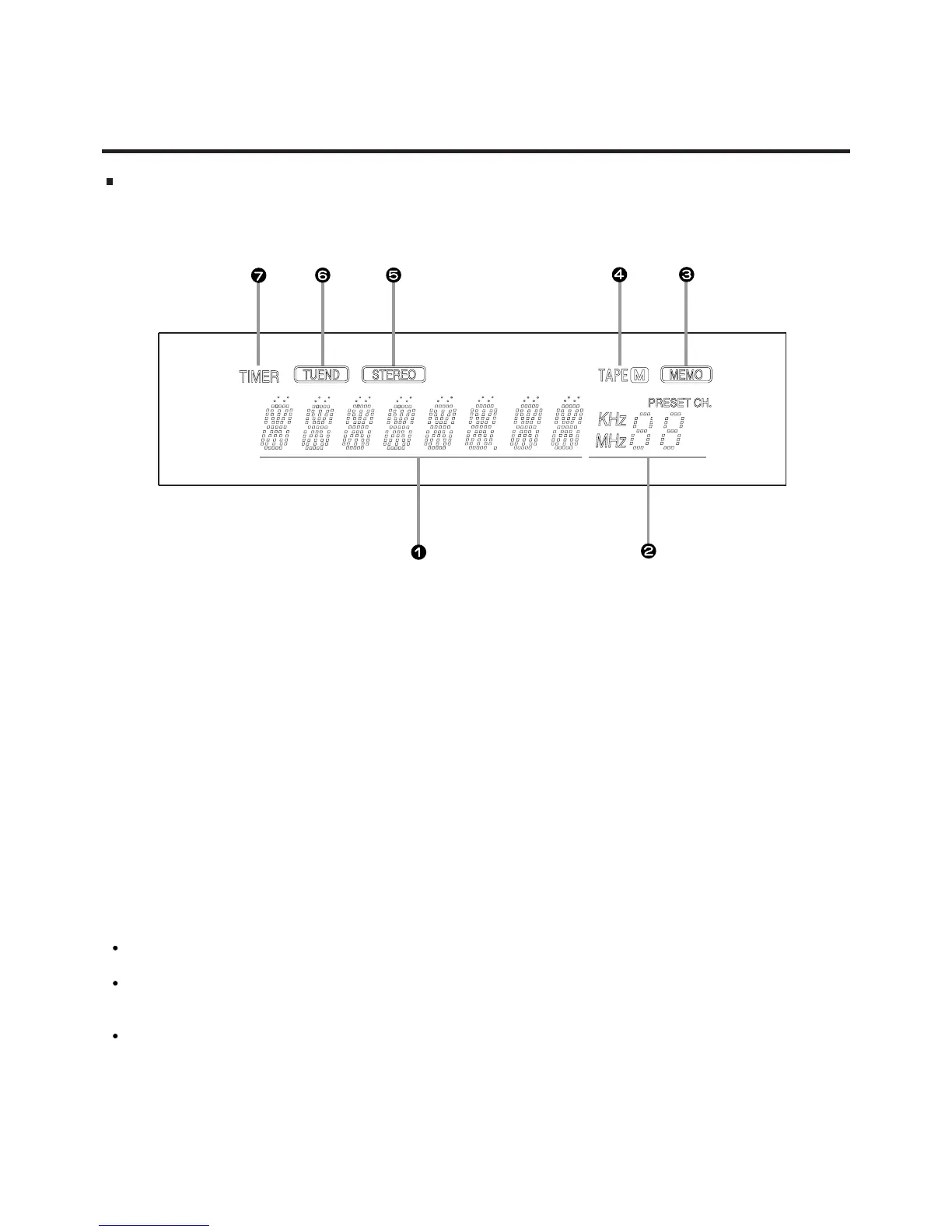
Display
1. Input source, frequency and level indicator
Function display :
When you press input selection button, the selected input
source will be shown.
Frequency display :
When you select Tuner input source, FM/AM frequency
will be displayed.
Surround Sound Level display :
When you adjust the level of center, rear and delay when
operating unit in surround mode, the level will be dis-
played in dB.
2. Memory Channel indicator
The number of the memory channel which is selected
will be displayed.
3. MEMORY indicator
Press the MEMORY button and the MEMO indicator-
will light.
If you press the MEMORY button and release instantly,
the indicator will blink 4 times.
This method is used for manual station programming.
If you press the MEMORY button longer than 1/2
second, the indicator will remain lit until the automatic
programming is completed.
4. TAPE Monitor indicator
This indicator will illuminate When you press TAPE
MONITOR button.
5. STEREO indicator
This indicator will illuminate when FM stereo broadcasting
is received. The indicator will not light up on FM mono or
AM broadcasting.
6. TUNED indicator
This indicator will illuminate when a radio station is pre-
cisely tuned.
7. TIMER indicator
This indicator will illuminate when the timer is used.