EasyManua.ls Logo

TECNA 4640N - Page 13

Default Icon
40 pages
Print Icon
To Next Page IconTo Next Page
To Next Page IconTo Next Page
To Previous Page IconTo Previous Page
To Previous Page IconTo Previous Page
Loading...
SALDATRICI ART. 4640N
÷
4644N - WELDERS ITEM 4640N
÷
4644N
EDIZIONE/EDITION: GIUGNO/JUNE 2019 PAG. 13 / 40
L'angolo della punta dell'elettrodo suggerito è 120 gradi. Se lo
spessore delle lamiere è diverso la punta dell'elettrodo deve
avere il diametro corrispondente alla lamiera con cui viene a
contatto. Un diametro degli elettrodi troppo piccolo in relazione
allo spessore da saldare porta a spruzzi di materiale fuso,
eccessiva impronta sulla lamiera, scarsa tenuta del punto.
Elettrodi di diametro troppo elevato portano a dover utilizzare
tempi di saldatura maggiori che portano ad un maggiore
riscaldamento della saldatrice e ad una minor vita degli
elettrodi.
Nel caso di saldatura a punti di alluminio si consiglia di usare
elettrodi sferici, il valore del raggio varia in relazione allo
spessore da saldare e alla qualità che si vuole ottenere.
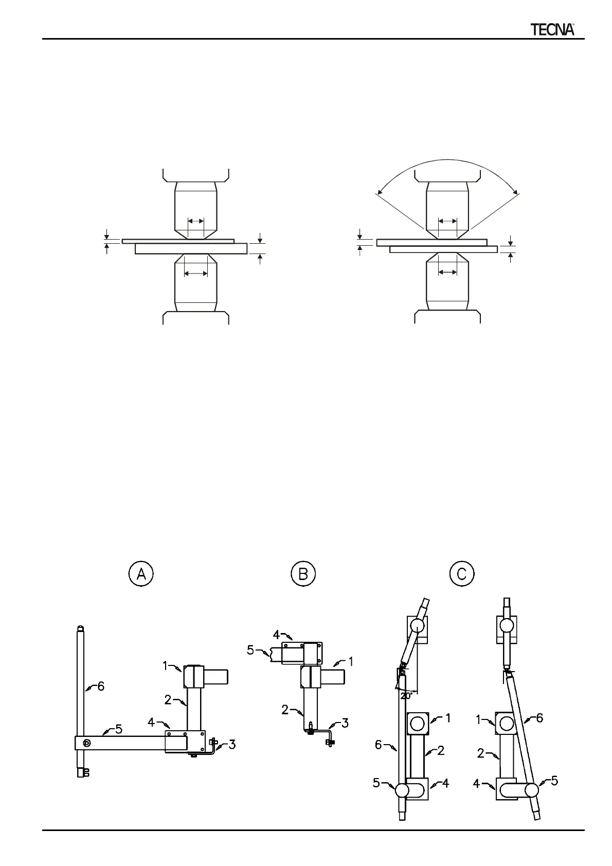
Regolazione scartamento nelle macchine dotate del kit
4618.
In queste puntatrici si è scelta la profondità degli elettrodi fissa
a 500 mm e lo scartamento regolabile fino ad un massimo di
440 mm. Lo scartamento è regolabile per adattare la saldatrice
alle diverse esigenze di lavoro, lo scartamento elevato riduce
le prestazioni; di ciò è opportuno tener conto nella regolazione
dei parametri di saldatura. E’ possibile il montaggio in diverse
posizioni:
A - Lo scartamento può raggiungere il massimo.
B - Capovolgendo il supporto 3 e spostando il portabraccio 4 in
alto si ottiene lo scartamento minimo.
C - Per saldature su bordi difficili da raggiungere è possibile
disallineare gli elettrodi. L’inclinazione va mantenuta entro un
max di 20° per evitare spostamenti sotto sforzo.
The suggested electrode tip angle is 120 degrees. If the
thickness of the two plates is different the electrode must have
the diameter corresponding to the one required by the plate to
which it gets in touch.
A too small diameter in comparison with the thickness to be
welded produces spatters of melted material, sheets over
mark, low spot quality. If the electrode diameter is too large,
longer welding times are necessary, causing a higher heating
of the welder and a shorter life of the electrodes.
For aluminium spot welding we suggest to use spherical
electrodes, radius value varies according to the thickness to be
welded and to the kind of quality required.
Arms gap adjustment on welders with kit 4618.
In these spot welders it has been chosen an electrodes depth
fixed at 500mm and an arms gap adjustable up to a maximum
of 440 mm. The arms gap can be adjusted in order to meet
different working exigencies; a large arms gap causes a
decreasing of the performances so that it is necessary to take
this into account when adjusting the welding parameters. It is
possible to assemble the arms in different positions:
A - The arms gap can reach the maximum.
B - The minimum gap is obtained by turning upside down the
support 3 and by pushing upwards the armholder 4.
C - When welding difficult-to-reach edges it is possible to put
the electrodes out of alignment. The inclination should be kept
within 20° max. so to avoid displacement under effort.
6 mm
1.5 mm
1.5 mm
6 mm
100° - 120°
4.5 mm
2.5 mm
0.8 mm
7.5 mm
"РУТЕКТОР" - сертифицированный дистрибьютор TECNA S.p.A. на территории РФ. rutector.ru info@rutector.ru 8 800 100 00 69

Related product manuals