EasyManua.ls Logo

TEFAL EXPRESS COMPACT GV7091 - Défroissez Verticalement

TEFAL EXPRESS COMPACT GV7091
114 pages
Print Icon
To Next Page IconTo Next Page
To Next Page IconTo Next Page
To Previous Page IconTo Previous Page
To Previous Page IconTo Previous Page
Loading...
10
Utilisation
Repassez à la vapeur
• Placez le bouton de réglage de température du fer sur le type de tissu à
repasser (voir tableau ci-dessous).
• Le voyant du fer s’allume. Attention : au démarrage de la séance et
lorsque vous réduisez la température en cours de séance, l’appareil est
prêt lorsque le voyant du fer s’éteint et que le voyant vert situé sur le
tableau de bord se fixe. En cours de séance, lorsque vous augmentez la
température du fer, vous pouvez repasser immédiatement, mais veillez à n’augmenter votre débit vapeur qu’une
fois que le voyant du fer est éteint.
• Pendant le repassage, le voyant situé sur le fer s’allume et s’éteint selon les besoins de chauffe, sans incidence
sur l’utilisation.
• Pour obtenir de la vapeur, appuyez sur la commande vapeur située sous la poignée du fer
- fig. 5. La vapeur
s’arrête en relâchant la commande.
• Si vous utilisez de l’amidon, pulvérisez-le à l’envers de la face à repasser.
Réglez la température
Réglage du bouton de température du fer :
- Commencez d’abord par les tissus qui se repassent à basse température et
terminez par ceux qui supportent une température plus élevée (••• ou Max).
- Si vous repassez des tissus en fibres mélangées, réglez la température de
repassage sur la fibre la plus fragile.
- Si vous repassez des vêtements en laine, appuyez juste sur la commande
vapeur du fer par impulsions
- fig. 5, sans poser le fer sur le vêtement. Vous
éviterez ainsi de le lustrer.
S
i vous mettez votre thermostat en position «min» le fer ne chauffe pas.
Repassez à sec
• N’appuyez pas sur la commande vapeur.
Défroissez verticalement
• Réglez le bouton de température du fer sur la position maxi.
• Suspendez le vêtement sur un cintre et tendez légèrement le tissu d’une main. La
vapeur produite étant très chaude, ne défroissez jamais un vêtement sur
une personne, mais toujours sur un cintre.
• Appuyez sur la commande vapeur - fig. 5 par intermittence en effectuant un
mouvement de haut en bas
- fig. 6.
Remplissez le réservoir en cours d’utilisation
• Quand le voyant rouge “réservoir vide” clignote - fig. 16, vous n’avez plus de vapeur. Le reservoir d’eau est vide.
• Débranchez la centrale vapeur et ouvrez le volet du réservoir.
• Utilisez une carafe d’eau, remplissez-la de 1,6 l d’eau maximum et remplissez le réservoir en prenant soin de ne
pas dépasser le niveau “Max” du réservoir
- fig. 4.
• Rebranchez la centrale vapeur. Appuyez sur la touche “RESTART” de redémarrage - fig. 17, située sur le tableau
de bord, pour poursuivre votre repassage. Quand le voyant vert reste allumé, la vapeur est prête.
Lors de la premre utilisation ou
si vous n’avez pas utili la va-
peur depuis quelques minutes :
appuyez plusieurs fois de suite
sur la commande vapeur (fig.5)
en dehors de votre linge. Cela
permettra d’éliminer l’eau
froide du circuit de vapeur.
Pour les tissus autres que le lin
ou le coton, maintenez le fer à
quelques centitres afin de
ne pas brûler le tissu.
Ne posez jamais le fer sur un repose-
fer métallique, ce qui pourrait l’abîmer
mais plutôt sur la plaque repose-fer du
boîtier : elle est équie de patins anti-
dérapants et a été coue pour sis-
ter à des températures élevées.
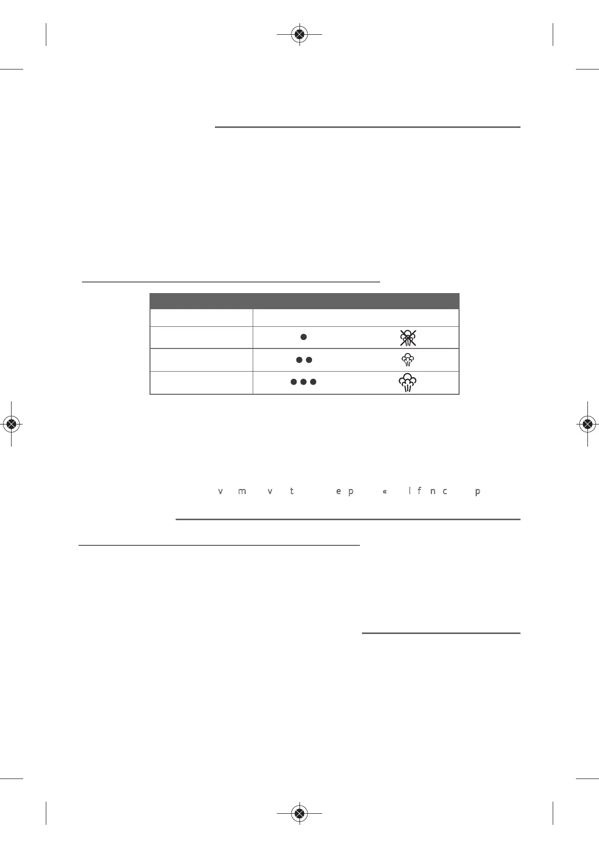
TYPE DE TISSUS Réglage du bouton de température
Laine, viscose
Synthétiques, soie
(polyester, acetate, acrylique, polyamide)
GLAGE TEMPÉRATURE ETBIT VAPEUR EN FONCTION DU TYPE DE TISSU À REPASSER :
Lin, coton
1800126766_01_GV7091E2_110 x 154 06/11/12 16:15 Page10

Table of Contents

Related product manuals