EasyManua.ls Logo

TEFAL EXPRESS COMPACT GV7091 - Planchar con Vapor; Regular la Temperatura; Planchar en Seco

TEFAL EXPRESS COMPACT GV7091
114 pages
Print Icon
To Next Page IconTo Next Page
To Next Page IconTo Next Page
To Previous Page IconTo Previous Page
To Previous Page IconTo Previous Page
Loading...
18
Uso
Planchar con vapor
• Sitúe el botón de ajuste de la temperatura de la plancha en el tipo de tejido que va
a
planchar (véase el siguiente cuadro).
• El piloto de la plancha se enciende. Atención: al empezar a planchar y cuando
reduzca la temperatura durante la sesión de planchado, el aparato estará listo
cuando el piloto de la plancha se apague y el piloto verde situado en el panel de
control se quede fijo. Durante la sesión de planchado, cuando suba la temperatura
de la plancha podrá planchar inmediatamente, pero procure no aumentar el flujo
de salida de vapor hasta que el piloto de la plancha se apague.
• Durante el planchado, el piloto situado en la plancha se enciende y se apaga en
función de las necesidades de calentamiento, sin que ello influya en su uso.
• Para obtener vapor, pulse el mando de vapor situado bajo el asa de la plancha -
fig.5.
El vapor se detendrá cuando deje de pulsar el botón.
• Si utiliza almidón, pulverícelo por el lado de la prenda que no planche.
Regular la temperatura
• Ajuste del botón de temperatura de la plancha:
- Empiece primero por los tejidos que se planchan a baja temperatura y termine
por los que soportan una temperatura más elevada (••• o Max).
- Si plancha tejidos de fibras mezcladas, ajuste la temperatura de planchado a
la fibra más frágil.
- Si plancha prendas de lana, pulse el mando de vapor por impulsiones - fig.5, y
no pose la plancha sobre la prenda. De este modo, evitará que se desluzca.
S
i se coloca el termostato en posición "min’’, la plancha no se calienta.
Planchar en seco
• No pulse el mando de vapor.
Elimine las arrugas verticalmente
• Ajuste el botón de temperatura de la plancha en la posición máx.
• Cuelgue la prenda de una percha y estire ligeramente el tejido con una mano. Como
el vapor que genera la plancha está a temperatura elevada, no planche nunca
una prenda sobre una persona, sino siempre sobre una percha.
• Pulse el mando de vapor -
fig.5 de manera intermitente realizando un movimiento
de arriba a abajo -
fig.6.
Llene el depósito durante el uso
• Cuando el piloto rojo "depósito vacío" parpadea, significará que ya no queda vapor - fig.16. El depósito de agua
está vacío.
• Desconecte la central de vapor y abra la pestaña del depósito.
• Utilice una jarra de agua, llénela con 1,6 l de agua máximo -
fig.4 y añádala al depósito procurando no superar
el nivel de “Max” del depósito
.
• Vuelva a conectar la central de vapor. Pulse el botón “RESTART” de puesta en marcha - fig.17, situado en el panel
de control, para seguir planchando. Cuando el piloto verde deje de parpadear, el vapor estará listo.
Cuando utilice el aparato por pri-
mera vez o si hace ya unos minu-
tos que no utiliza el vapor: pulse
varias veces seguidas el mando
de vapor (fig.5) alejado de la
ropa. Esto le permiti eliminar el
agua fría del circuito de vapor.
Para no quemar los teji-
dos diferentes del lino o
del algodón, mantenga la
plancha alejada a unos
cenmetros.
No coloque nunca la plan-
cha sobre un reposaplan-
chas melico, ya que
poda estropearla; coló-
quela sobre la placa repo-
saplanchas de la caja: ésta
es equipada con topes
antideslizantes y es dise-
ñada para resistir a tempe-
raturas elevadas.
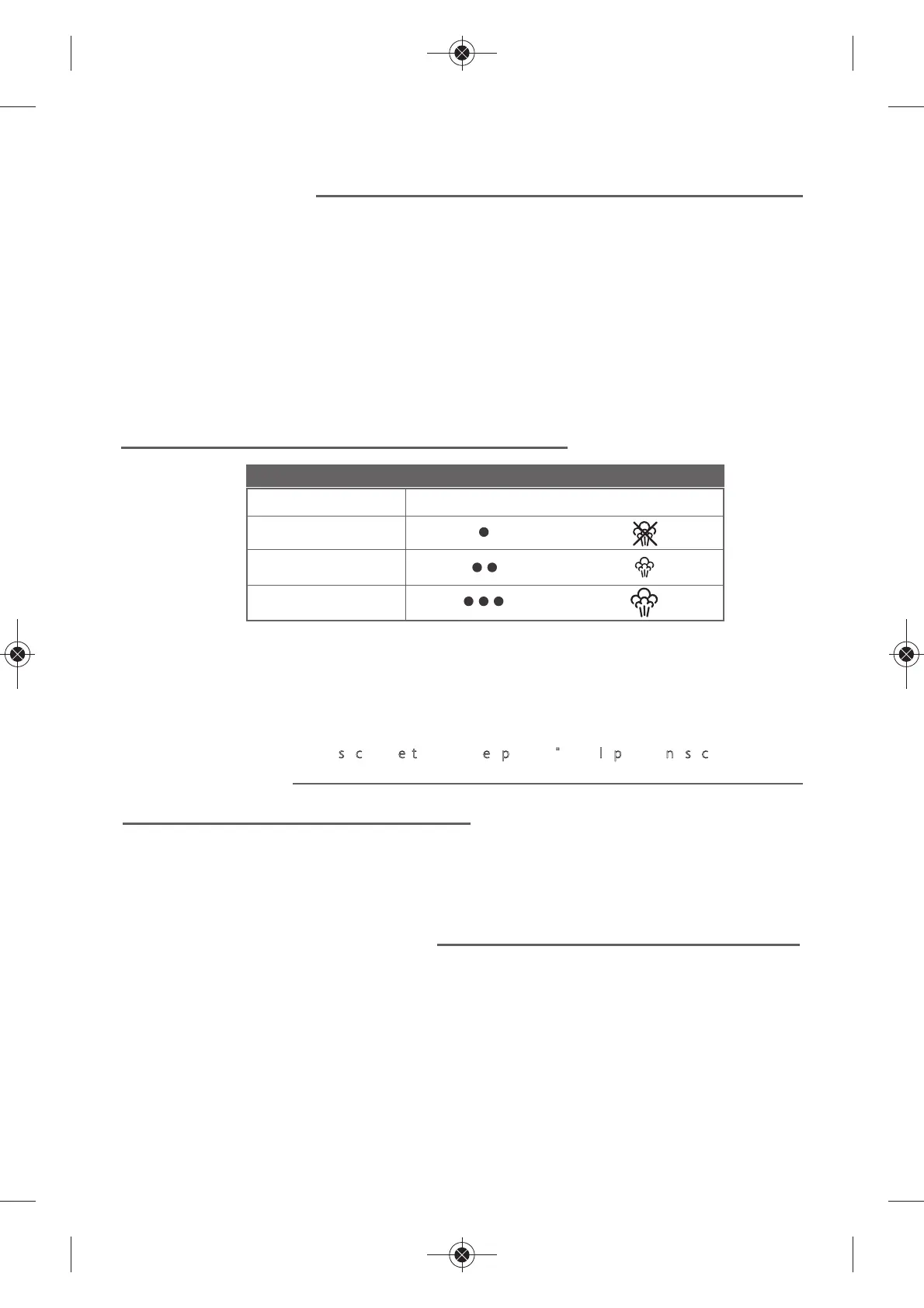
TIPO DE TEJIDOS
AJUSTE DEL BOTÓN DE TEMPERATURA
Lana, viscosa
Sintéticos, seda
(poliéster, acetato, acrílico, poliamida)
AJUSTE DE LA TEMPERATURA EN FUNCIÓN DEL TIPO DE TEJIDO QUE VAYA A PLANCHAR:
Lino, algodón
1800126766_01_GV7091E2_110 x 154 06/11/12 16:15 Page18

Table of Contents

Related product manuals