EasyManua.ls Logo

TEFAL EXPRESS COMPACT GV7091 - Page 28

TEFAL EXPRESS COMPACT GV7091
114 pages
To Next Page IconTo Next Page
To Next Page IconTo Next Page
To Previous Page IconTo Previous Page
To Previous Page IconTo Previous Page
Loading...
22
Utiliza
ção
Engomar com vapor
• Coloque o botão de regulação da temperatura do ferro no tipo de tecido a
e
ngomar (ver tabela abaixo).
• O indicador luminoso do ferro acende-se. Atenção: no início da sessão de
engomagem e quando reduz a temperatura durante a sessão, o aparelho
está pronto assim que o indicador luminoso do ferro se apaga e que o
indicador luminoso verde situado no painel de visualização fica fixo. Durante
a sessão, assim que aumenta a temperatura do ferro, pode passar
imediatamente, mas tenha atenção para não aumentar o débito de vapor
uma vez que o indicador luminoso do ferro está apagado.
• Durante o engomar, o indicador situado por cima do ferro acende e apaga
consoante a necessidade de calor, sem afectar a utilização.
• Para obter vapor, carregue no comando de vapor situado por baixo da pega
do ferro -
fig.5
. O vapor deixa de sair quando soltar o comando.
• Se utilizar goma, pulverize-a no avesso da superfície a engomar.
Regule a temperatura
• Regulação do botão de temperatura do ferro:
- Comece pelos tecidos que são engomados a baixa temperatura e acabe
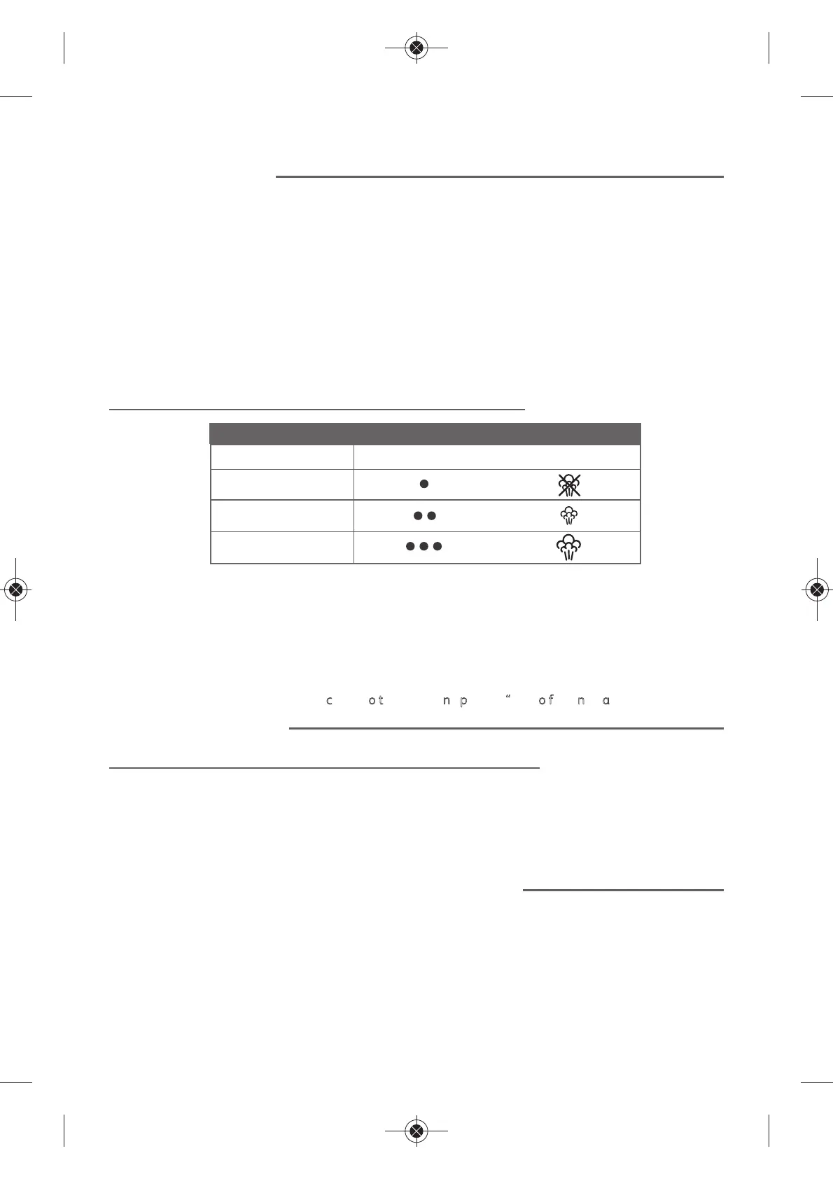
com aqueles que suportam uma temperatura mais alta (••• ou Max).
- Se engomar tecidos de fibras misturadas, regule a temperatura de passar a
ferro com base na fibra mais frágil.
- Se engomar peças de roupa em lã, carregue no comando de vapor do ferro
por impulsos
-
fig.5, sem pousar o ferro na peça de roupa. Por forma a evitar
o lustro.
S
e colocar o termóstato na posão min” o ferro não aquece.
Passe a ferro a seco
• Não carregue no comando de vapor.
Engomar na vertical
• Regule o botão de temperatura do ferro para a posição máxima.
• Pendure a peça de roupa num cabide e estique ligeiramente o tecido com uma mão.
Uma vez que o vapor produzido é muito quente, nunca elimine os vincos de
uma peça de roupa na própria pessoa, mas sempre pendurada num cabide.
• Carregue no comando de vapor
-
fig.5
de forma intermitente efectuando um
movimento de cima para baixo
-
fig.6
Encha o reservatório no decorrer da utilização
• Quando o indicador vermelho do reservatório da água pisca, deixa de
haver vapor
-
fig.16
. O reservatório de água está vazio.
• Desligue o gerador de vapor e abra a tampa do reservatório.
• Utilize uma garrafa de água, encha-a com 1,6 l de água no máximo
-
fig.4
e encha o reservatório sem ultrapassar o nível “Max” do reservatório.
• Volte a ligar a central de vapor. Carregue na tecla “RESTART” para iniciar
um novo arranque
-
fig.17
, situada no painel de controlo, para continuar
a engomar. Quando o indicador luminoso verde se mantém aceso, o
vapor está pronto.
Aquando da primeira utilização ou
se não utilizar o vapor já alguns
minutos: carregue rias vezes de
seguida no comando de vapor (fig.5)
afastando o ferro da roupa. Isso per-
mitirá eliminar a água fria do cir-
cuito de vapor.
Nunca coloque o ferro sobre um
descanso de ferro de metal, dado que
existe o risco de danificação, mas
sobre a placa de descanso do ferro da
estrutura: esta está equipada com
patins anti-derrapantes e foi
concebida para resistir a temperaturas
altas.
Para tecidos que não o
linho ou o algodão, man-
tenha o ferro a alguns cen-
tímetros de disncia para
não queimar o tecido.
TIPO DE TECIDOS
REGULAÇÃO DO BOTÃO DE TEMPERATURA
Lã, viscose
Sintéticos, seda
(poliéster, acetato, acrílico, poliamida)
REGULAÇÃO DA TEMPERATURA EM FUNÇÃO DO TIPO DE TECIDO A ENGOMAR
Linho, algodão
Antes de proceder à limpeza, certi-
fique-se que o gerador se encontra
desligado da corrente, que a base e o
próprio ferro se encontram frios.
1800126766_01_GV7091E2_110 x 154 06/11/12 16:15 Page22

Table of Contents

Related product manuals