EasyManua.ls Logo

Teka TB 6310 - Page 43

Teka TB 6310
Print Icon
To Next Page IconTo Next Page
To Next Page IconTo Next Page
To Previous Page IconTo Previous Page
To Previous Page IconTo Previous Page
Loading...
PL
43
ĝURGNL
EH]SLHF]HĔVWZD
W przypadku
uszkodzenia lub
SĊNQLĊFLDWZRU]\ZD
szklano-
ceramicznego,
SLHNDUQLNQDOHĪ\
natychmiast
RGáąF]\ü SUąG
elektryczny, istnieje
QLHEH]SLHF]HĔVWZR
SRUDĪHQLDSUąGHP
8U]ąG]HQLHMHVW
przeznaczone do
pracy z
]HZQĊWU]QHJR
zegara (brak w
zestawie) lub
oddzielnego pilota.
&]\ĞFLü
XU]ąG]HQLDSDUą
8U]ąG]HQLHLMHJR
GRVWĊSQHF]ĊĞFLZ
F]DVLHSUDF\PRĪH
RJU]Dü 8QLNDü
kontaktu z tych
JRUąF\FKF]ĊĞFL
']LHFL SRQLĪHM
URNXĪ\FLDFK\EDĪH
VąRQHSRGVWDáą
NRQWUROą QLH
SRZLQQ\E\üEOLĪHM
pieca.
']LHFLZZLHNX
lat i starsze, osoby
z zaburzeniami
fizycznej,
psychicznej lub
XP\VáRZHM RUD]
osoby
QLHGRĞZLDGF]RQH
PRJą XĪ\ZDü
XU]ąG]HQLDW\ONRSR
SU]HGáRĪHQLX
Z\VWDUF]DMąF\FK
informacji na temat
VZRMHMG]LDáDOQRĞFL
oraz o potencjalnych
]DJURĪHQLDFK Z
jego stosowania.
Czyszczenie i
konserwacja nie
PRJą E\ü
wykonywane przez
dzieci bez nadzoru.
Dzieci nie
SRZLQQ\EDZLüVLĊ
XU]ąG]HQLHP
Uwaga:
QHEH]SHþQpYDĜLW]
tukemneboolejem
dozoruosoby bez
PRĪOLZRĞFLSRĪDUX
Nigdy nie próbuj
JDVLüRJQLDZRGą
W takiej sytuacji
QDOHĪ\ RGáąF]\ü
XU]ąG]HQLH RG
]DVLODQLDLRJLHĔ
GáDZLNLSRNU\ZD
talerz lub koc.
1LH XPLHĞFLü
rzeczy na
powierzchni pieca.
3R]ZROLWRXQLNQąü
U\]\NDSRĪDUX
-HĞOL ZHMĞFLH
]RVWDáRXV]NRG]RQH
JáyZQ\ NDEHO
XU]ąG]HQLD PXVL
E\ü Z\PLHQLRQ\
przez producenta
lub
autoryzowanego
jednostki
XVáXJRZHM
8:$*$ 1DOHĪ\
VWRVRZDüZ\áąF]QLH
odpowiednie klocki
Kuchenki
wytwarzane dla
potrzeb domowych
lub - oryginalne
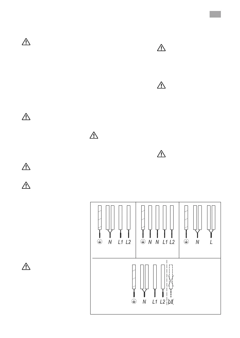
9
1/a
9
1/a
9
1/a
9
1/a
]LHORQRĪyáW\
QLHELHVNL
EUą]RZ\
V]DU\
F]DUQ\
]LHORQRĪyáW\
QLHELHVNL
EUą]RZ\
V]DU\
F]DUQ\
]LHORQRĪyáW\
QLHELHVNL
EUą]RZ\
V]DU\
F]DUQ\
]LHORQRĪyáW\
QLHELHVNL
EUą]RZ\
V]DU\
F]DUQ\
1,(8ĩ<:$û/
U\V

Related product manuals