EasyManua.ls Logo

Teka TR 641 - Page 36

Teka TR 641
39 pages
Print Icon
To Next Page IconTo Next Page
To Next Page IconTo Next Page
To Previous Page IconTo Previous Page
To Previous Page IconTo Previous Page
Loading...
GB
36
Plastic objects, sugar, or food with a high
sugar content that are melted onto the hob
should be removed immediately while hot,
using a scraper.
When the glass colour changes.
This does not affect its effectiveness or
stability, and is generally caused by inade-
quate cleaning or by poor-quality pans.
Metallic sheens are caused by metal pans
sliding over the glass. They can be remo-
ved by thorough cleaning with a special,
glass ceramic cleaning agent (for exam-
ple, Vitroclen), although it may be that the
cleaning needs to be repeated more than
once.
Worn trim is the result of using abrasive
cleaning products or pans with uneven
bases which wear down the serigraphy.
Take great care when using the
glass scraper. The blade can cause in-
jury!
Only use the blade on the glass
ceramic surface - avoid the body of the
scraper coming into contact with the
glass, since this could scratch the
glass ceramic.
Use blades that are in perfect con-
ditions, and change the blade as soon
as it shows any sign of wear.
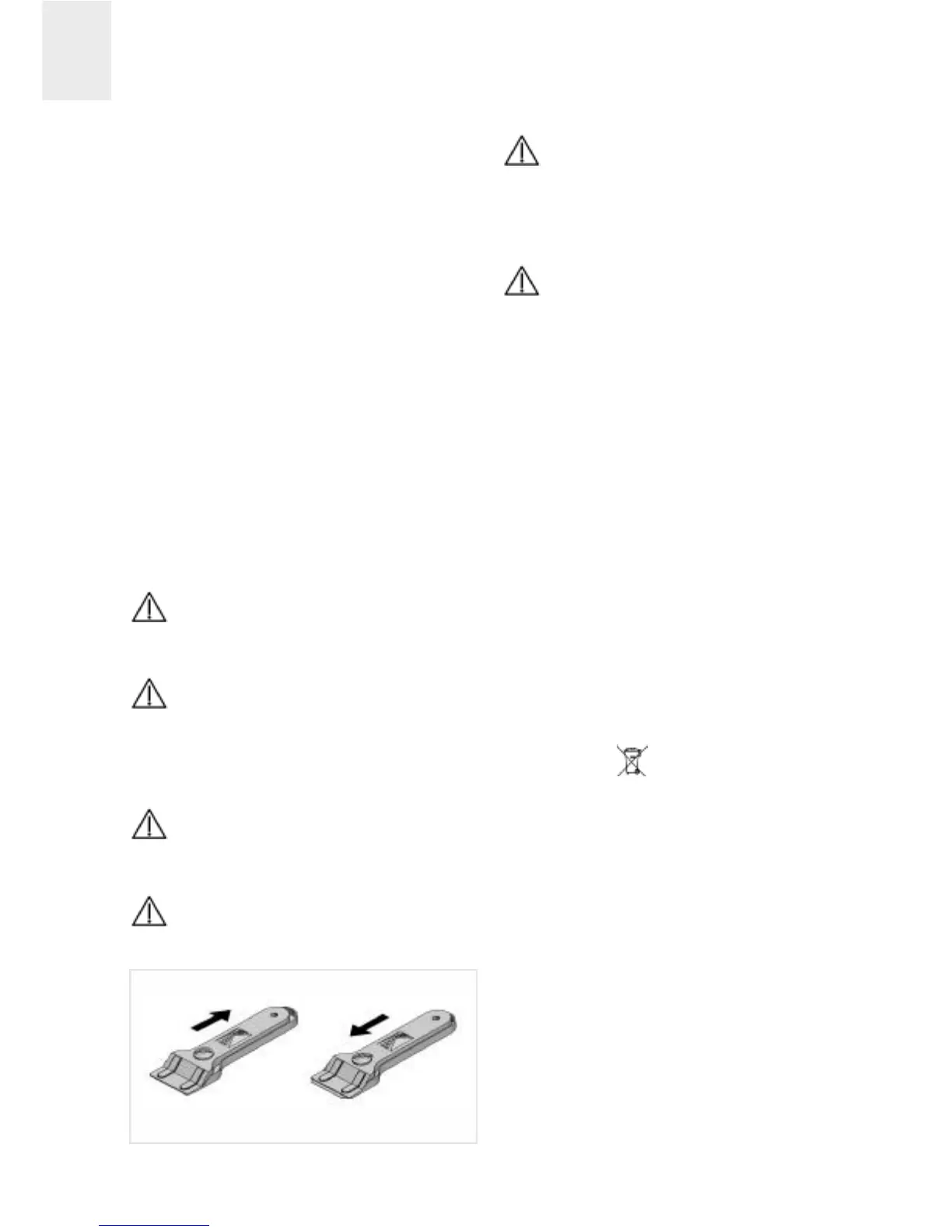
When you finish using the scra-
per, fold it away and cover it well up.
(See fig. 15).
Pans may stick to the glass if so-
mething has melted between them. Do
not attempt to unstick the pan when it
is cold - you could break the glass ce-
ramic.
Do not stand on the glass or lean
on it, for it might break and cause in-
jury. Do not put any objects down on the
glass.
CLEANING AND CARE THE FRAME
Clean dirt off using a damp cloth or warm,
soapy water. With stubborn stains, use a
special glass ceramic cleaning agent, or a
liquid polish for domestic appliances. Rub
the product on without diluting it, leave it to
work, and then wipe off with a dry cloth. Do
not use metal scourers or hard synthetics.
TEKA INDUSTRIAL S.A. reserves the right
to alter its manuals in any way it deems ne-
cessary or useful while not altering their
basic characteristics.
The symbol on the product or on
its packaging indicates that this pro-
duct may not be treated as household
waste. Instead it shall be handed over
to the applicable collection point for the
recycling of electrical and electronic
equipment. By ensuring this product is
disposed of correctly, you will help pre-
vent potential negative consequences
for the environment and human health,
which could otherwise be caused by in-
appropriate waste handling of this pro-
duct, please contact your local city offi-
ce, your household waste disposal ser-
vice or the shop where you purchased
the product.
Using the scraper
Protected blade
Unprotected blade
fig. 15

Related product manuals