EasyManua.ls Logo

Tekmar 1773 - Page 5

Tekmar 1773
20 pages
Print Icon
To Next Page IconTo Next Page
To Next Page IconTo Next Page
To Previous Page IconTo Previous Page
To Previous Page IconTo Previous Page
Loading...
- 5 -
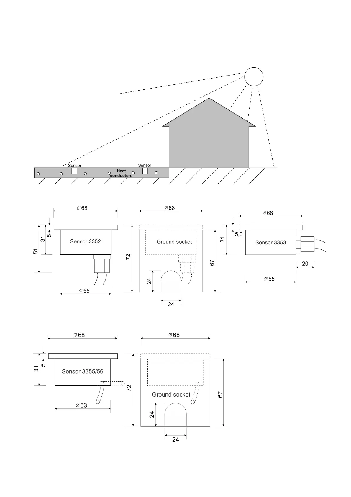
Installation example with two sensors
Two sensors can be connected to the snow and ice detector. In this way it is possible to optimally monitor large
or separated open areas, which may have different local conditions (such as sun in the southern part of the area
and shadow in the northern part or due to shading by a roof as in the illustration below).
Dimensions: Type 3352 and 3353 sensors [mm]
Dimensions: Type 3355 and 3356 sensors [mm]

Related product manuals