EasyManua.ls Logo

Ten-Tec RX-340 - Page 107

Ten-Tec RX-340
174 pages
Print Icon
To Next Page IconTo Next Page
To Next Page IconTo Next Page
To Previous Page IconTo Previous Page
To Previous Page IconTo Previous Page
Loading...
10-3
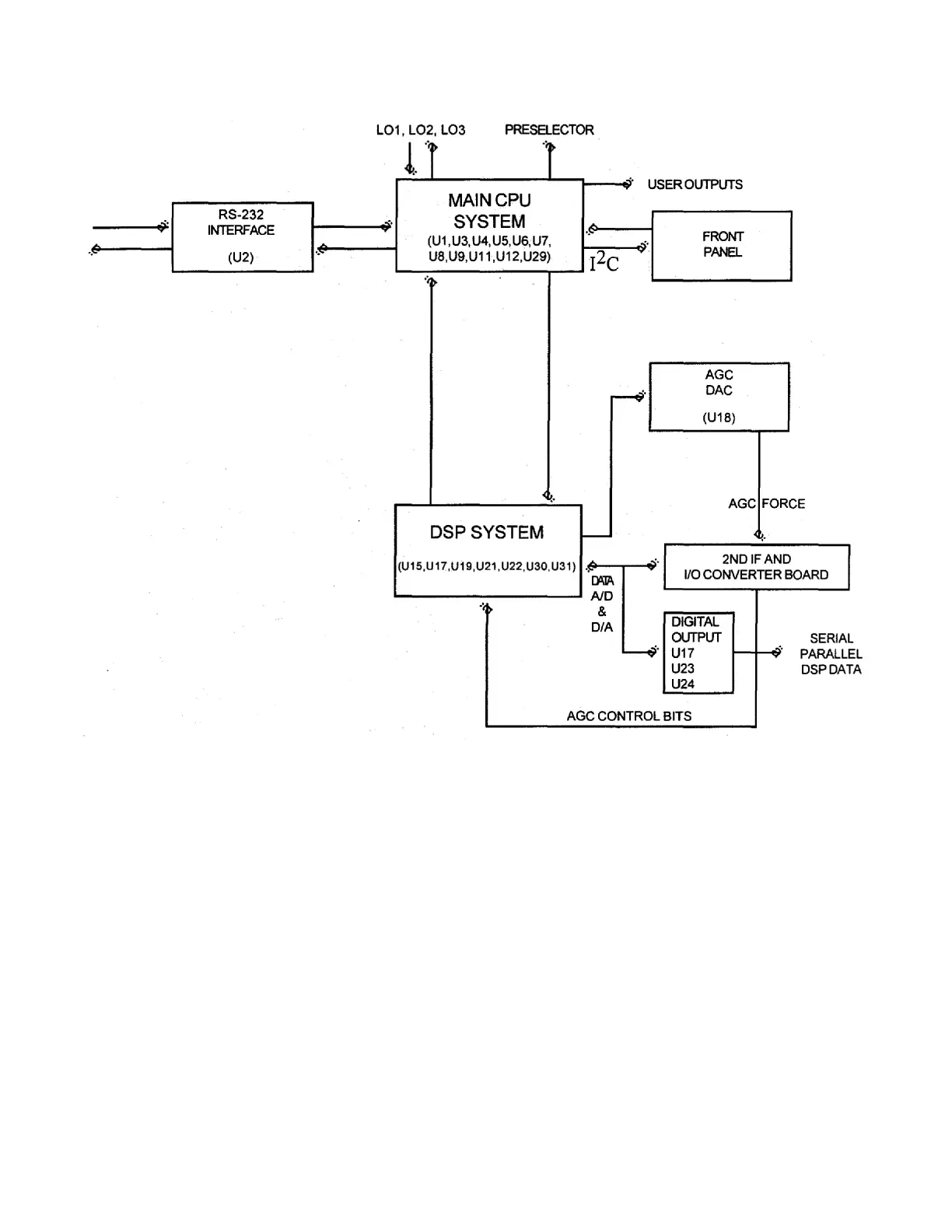
LOGIC BOARD BLOCK DIAGRAM
FIGURE 10-2

Related product manuals