EasyManua.ls Logo

TermoPool AIC06 - Redovno Održavanje I Zimovanje Žavanje I Zimovanje

Default Icon
56 pages
Print Icon
To Next Page IconTo Next Page
To Next Page IconTo Next Page
To Previous Page IconTo Previous Page
To Previous Page IconTo Previous Page
Loading...
(Napomena:
Obavezni intervali odmrzavanja trebaju biti du
minuta.)
6. Temperatni prikaz konverzije i
:
Pritisnite " " i " "
zajedno 5 sekundi za prebacivanje između
7. WI-fi podešavanje
Pažljivo pročitajte poslednju stranu.
2.3. Redovno odr
žavanje i održavanje tokom zimskog
2.3.1. Redovno održavanje
Ne zaboravite da isklju
čite napajanje toplotne pumpe
Ispariva
č očistite deterdzentima za domaćinstvo ili čistom vodom,
razređivače ili bilo koje slično gorivo.
Proveravajte zavrtnje, kablove i konekcije redovno.
2.3.2.
Održavanje tokom zimskog perioda
U zimskom periodu kada ne plivate,isklju
koristite toplotnu
pumpu ispod 2
7
Obavezni intervali odmrzavanja trebaju biti du
ži od 30 minuta a kompresor treba da radi duže od 10
:
zajedno 5 sekundi za prebacivanje između
I ℉.
žavanje i održavanje tokom zimskog
perioda
čite napajanje toplotne pumpe
č očistite deterdzentima za domaćinstvo ili čistom vodom,
NIKADA
razređivače ili bilo koje slično gorivo.
Proveravajte zavrtnje, kablove i konekcije redovno.
Održavanje tokom zimskog perioda
U zimskom periodu kada ne plivate,isklju
čite napajanje i ispustite vodu iz toplotne pumpe.Kada
pumpu ispod 2
, vodite ra
čuna da uvek postoji protok vode.
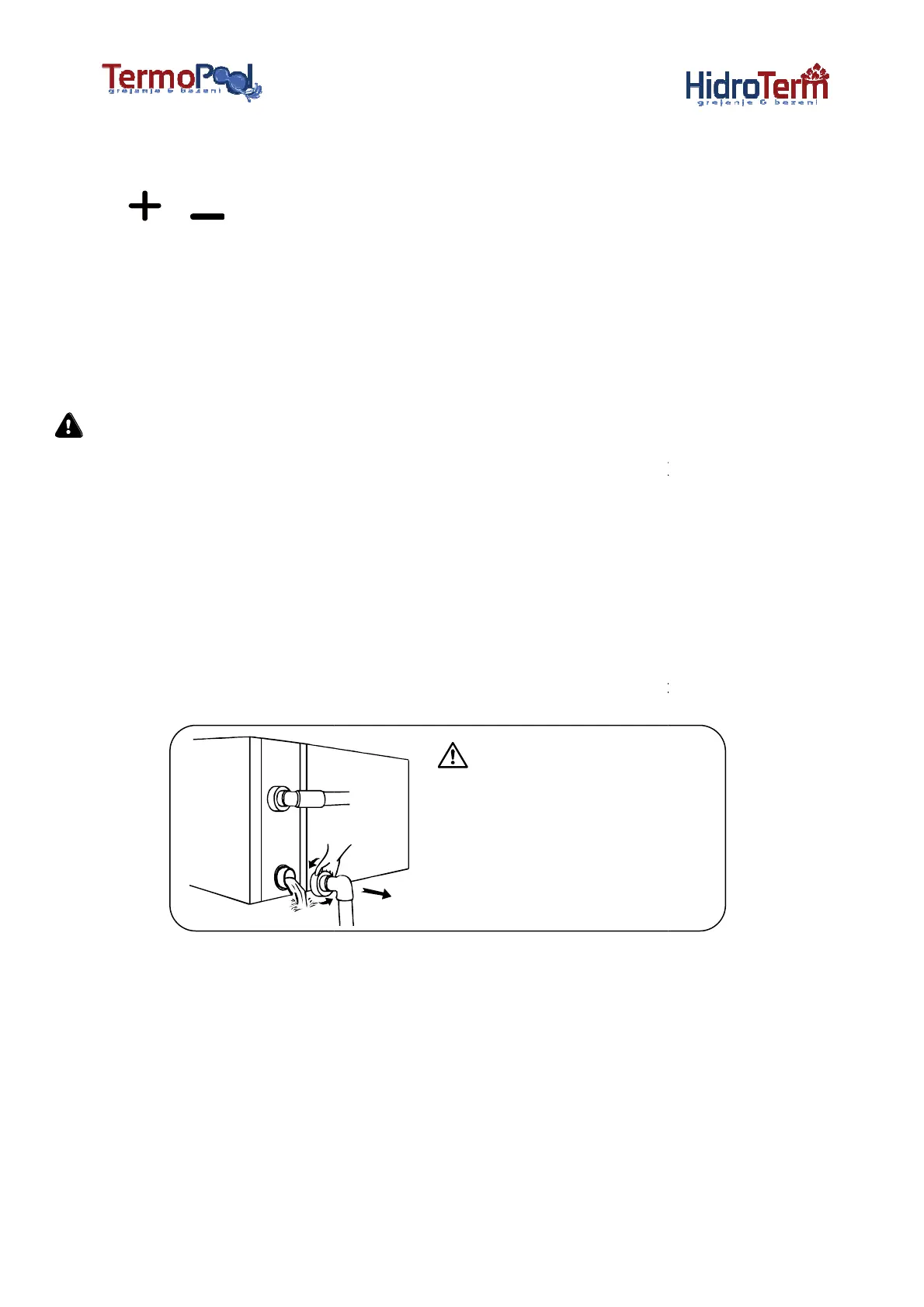
Important:
Unscrew the water union of inlet pipe
to let the water flow out.
When the water in machine freezes in
winter season, the titanium heat
exchanger may be damaged.
ži od 30 minuta a kompresor treba da radi duže od 10
perioda
NIKADA
ne koristite benzin,
čite napajanje i ispustite vodu iz toplotne pumpe.Kada
čuna da uvek postoji protok vode.
Unscrew the water union of inlet pipe
When the water in machine freezes in
winter season, the titanium heat