EasyManua.ls Logo

TES APM-15 - 2.2.2 Portrait Orientation

Default Icon
24 pages
Print Icon
To Next Page IconTo Next Page
To Next Page IconTo Next Page
To Previous Page IconTo Previous Page
To Previous Page IconTo Previous Page
Loading...
14
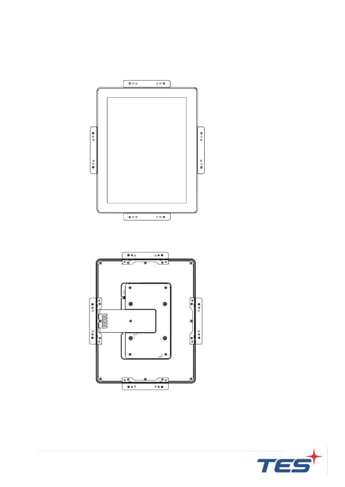
2.2.2 Portrait
A. The left and right sides
B. The Top and bottom sides

Related product manuals