EasyManua.ls Logo

Tesla 40K307BF - Távirányító

Tesla 40K307BF
223 pages
Print Icon
To Next Page IconTo Next Page
To Next Page IconTo Next Page
To Previous Page IconTo Previous Page
To Previous Page IconTo Previous Page
Loading...
118
HU
TÁVIRÁNYÍTÓ
Az elemek távirányítóba helyezésének módja
A távirányító használatával kapcsolatos figyelmeztetések
Vegye le az elemrekesz fedelét, helyezzen be kettő AAA 1,5 V-os elemet, ügyeljen a távirányító elemrekeszében jelölt
polaritás betartására.
1. A távirányító használata során azt irányítsa a távirányító induktív ablak felé. A távirányító és az induktív ablak közötti
tárgyak megakadályozhatják a normális üzemelést.
2. A távirányítót ne tegye ki erős vibrációnak. Továbbá, ne tegye ki a távirányítót közvetlen napsütésnek, a hőenergia a
távirányító deformációját okozhatja.
3. Ha a fő készüléken lévő távirányító induktív ablakot éri közvetlen napfény vagy intenzív megvilágítás, a távirányító
használatakor zavarok léphetnek fel; ilyen esetben a megvilágítás szögét meg kell változtatni, vagy a távirányítót
kisebb távolságból kell működtetni.
4. Az elemek feszültségének visszaesése is befolyásolja a távirányító kezelési távolságát. Ekkor az elemeket ki kell
cserélnie. Ha a távirányítót huzamosabb ideig nem használja, vagy az elemek kimerülnek, vegye ki az elemeket, hogy
elkerülje az elemek korróziója miatt bekövetkező szivárgást, amely a távirányító károsodását okozhatja.
5. Ne használjon különböző típusú elemeket. Az új és használt elemek kombinációja sem megengedett. Az elemeket
párban kell használnia.
6. Az elemeket ne dobja tűzbe, ne töltse, vagy ne bontsa szét, különösen a használt elemeket ne töltse, ne szedje szét
vagy rakja össze, ne hevítse, vagy ne égesse el. Kérjük, tartsa be a használt elemekre vonatkozó környezetvédelmi
szabályokat.
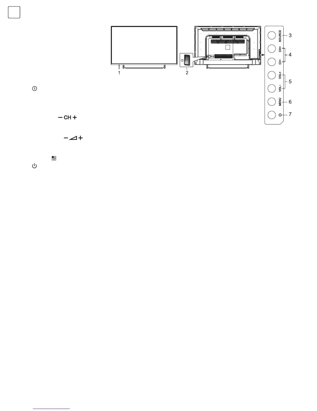
1. Áramjelző LED és a távirányító fogadóablaka.
2.
Főkapcsoló (opcionális): Az áram bekapcsolásához nyomja meg az „ I “ végét, a kikapcsoláshoz
pedig a „O“ végét.
3. FORRÁS: Ennek a gombnak a megnyomásával léphet a jelforrás menübe, ahol kiválaszthatja a
jelforrást.
4. CH-, CH+ (
): Ezzel a két gombbal választhatja ki a csatornát. Az OSD menüben ezt a két
gombot nyomja a tételek állításához, e gombok funkciója ugyanaz, mint a távirányítón lévő /
gomboké.
5. VOL-, VOL+ (
): Ezt a két gombot nyomja, ha a hangerőt kívánja növelni, vagy csökkenteni.
Az OSD menüben ennek a két gombnak a megnyomásával tudja a kiválasztott tétel analóg értékét
állítani. E gombok funkciója ugyanaz, mint a távirányítón lévő t / u gomboké
6. MENU (
): Nyomja meg ezt a gombot, hogy a főmenübe lépjen.
7.
Készenlét: A TV be-, vagy készenléti állapotba kapcsolása.
Megjegyzés: Az eltérő modellek megjelenése is eltérő lehet; nézze meg a konkrét készüléken.
43”

Table of Contents

Related product manuals