EasyManua.ls Logo

Thermo LabSystems Multiskan MS - Page 70

Default Icon
314 pages
Print Icon
To Next Page IconTo Next Page
To Next Page IconTo Next Page
To Previous Page IconTo Previous Page
To Previous Page IconTo Previous Page
Loading...
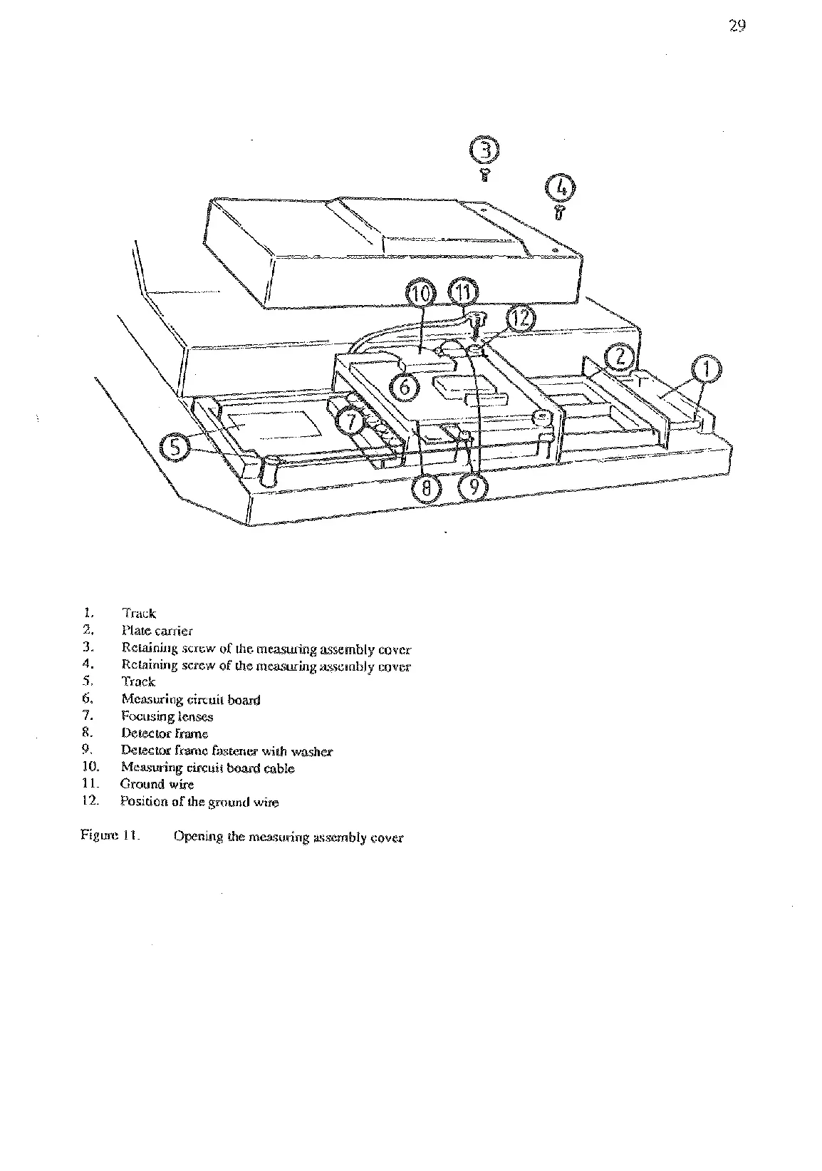
Track
Plate
carrier
Retaining
screw
of
the
measuring
assembly cover
Reraining
screw
of
the
measuring
assembly cover
Track
Measuring
cissuit
board
Focusing
tenses
Belector
frame
DemL8r
fme
lastenex
with
washer
Measusing
circuit
Ground wire
Position
of
the
gmund
wire
Figure
1
I.
ning
the
measuring ssernbly
cover
Artisan Technology Group - Quality Instrumentation ... Guaranteed | (888) 88-SOURCE | www.artisantg.com

Related product manuals