EasyManua.ls Logo

Thor Kitchen LRG4807U - Page 27

Thor Kitchen LRG4807U
59 pages
Print Icon
To Next Page IconTo Next Page
To Next Page IconTo Next Page
To Previous Page IconTo Previous Page
To Previous Page IconTo Previous Page
Loading...
25
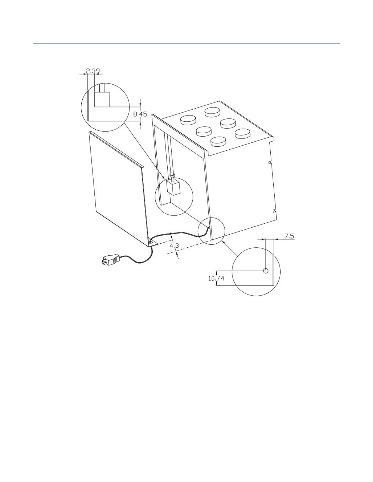
Dimension and Clearance
Installation for LRG 30 and 36 inches Gas Range

Table of Contents

Related product manuals