EasyManua.ls Logo

Thrustmaster TS-XW RACER - 技術仕様

Thrustmaster TS-XW RACER
505 pages
Print Icon
To Next Page IconTo Next Page
To Next Page IconTo Next Page
To Previous Page IconTo Previous Page
To Previous Page IconTo Previous Page
Loading...
2/24
技術仕様
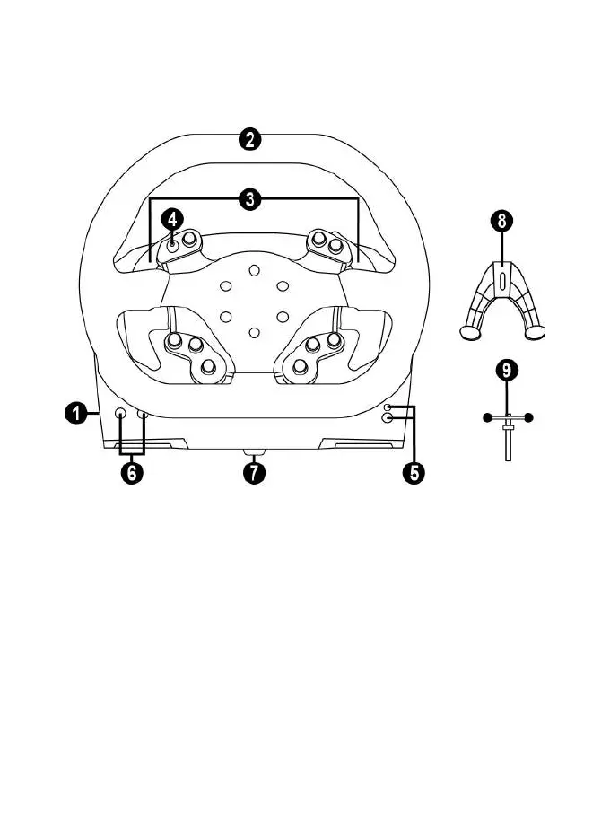
1
ベース部
2
ステアリングホイール
3
シーケンシャ パドルシフト x 2 (上下)
4
プッシュボタン付き方向パッド
5
Xbox ガイド ボタン + 白色 LED
6
MODE ボタン + /緑インジケータラン
7
大きなねじ穴 (タッチメントシステムお
よび締め付けねじ)
8
アタッチメントシステム
9
金属製取り付けねじ

Table of Contents

Related product manuals