EasyManua.ls Logo

Thrustmaster TS-XW RACER - Technical features

Thrustmaster TS-XW RACER
505 pages
Print Icon
To Next Page IconTo Next Page
To Next Page IconTo Next Page
To Previous Page IconTo Previous Page
To Previous Page IconTo Previous Page
Loading...
2/24
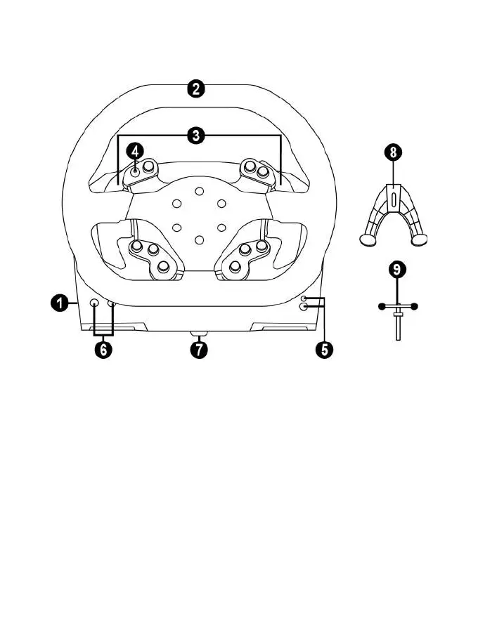
TECHNICAL FEATURES
1 Base
2 Wheel
3 2 sequential paddle shifters (up & down)
4 D-pad with push button
5 Xbox Guide button + white indicator light
6 MODE button + red/green indicator light
7 Large threaded hole (for attachment system
and fastening screw)
8 Attachment system
9 Metal fastening screw

Table of Contents

Related product manuals