EasyManua.ls Logo

Thrustmaster TS-XW RACER - TECHNICKÉ VLASTNOSTI

Thrustmaster TS-XW RACER
505 pages
Print Icon
To Next Page IconTo Next Page
To Next Page IconTo Next Page
To Previous Page IconTo Previous Page
To Previous Page IconTo Previous Page
Loading...
2/24
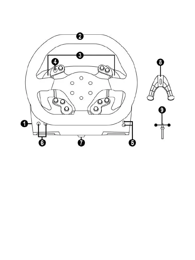
TECHNICKÉ VLASTNOSTI
1 Základňa
2 Volant
3 2 sekvenčné radiace páky (hore & dole)
4 D-pad s tlačidlami
5 Tlačidlo Xbox Guide + biela indikačná
kontrolka
6 Tlačidlo MODE + červená/zelená indikač
kontrolka
7 Veľký otvor so závitom (pre upevňovací
systém a upevňovaciu skrutku)
8 Upevňovací systém
9 Kovová upevňovacia skrutka

Table of Contents

Related product manuals