EasyManua.ls Logo

Thrustmaster TS-XW RACER - Tekniska delar

Thrustmaster TS-XW RACER
505 pages
Print Icon
To Next Page IconTo Next Page
To Next Page IconTo Next Page
To Previous Page IconTo Previous Page
To Previous Page IconTo Previous Page
Loading...
2/24
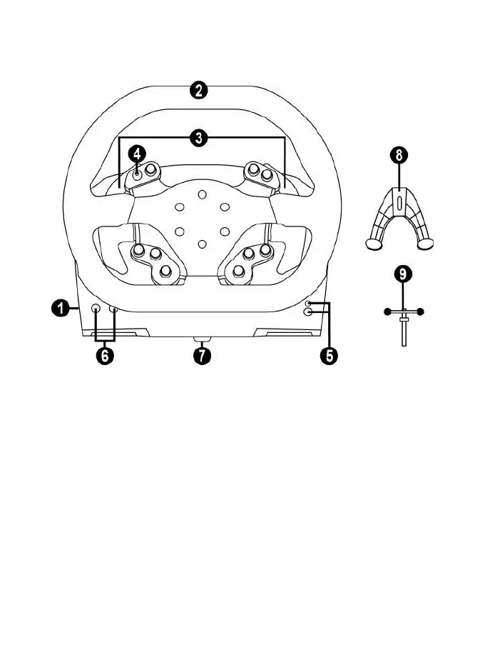
TEKNISKA DELAR
1 Bas
2 Ratt
3 Två sekventiella växelpaddlar (upp och ner)
4 Styrknapp med tryckknapp
5 Xbox Guide-knapp + vit indikatorlampa
6 MODE-knapp + röd/grön indikatorlampa
7 Stort gängat hål (för monteringssystem och
fästskruv)
8 Monteringssystem
9 Fästskruv av metall

Table of Contents

Related product manuals