EasyManua.ls Logo

Time Versalift SST-40-EIH - Aerial Lift Operations

Default Icon
51 pages
Print Icon
To Next Page IconTo Next Page
To Next Page IconTo Next Page
To Previous Page IconTo Previous Page
To Previous Page IconTo Previous Page
Loading...
4-2
28009-09 09/16VERSALIFT SST-37/40-EIH
OPERATION
ground, and the outriggers have a clear path to
the ground, lower all the outriggers until they rmly
contact the ground. When the ground is too soft for
the outriggers to be e󰀨ective, place outrigger pads
on the ground to increase the bearing area.
If the truck is parked on sloping ground so that one
side of the truck is lower than the other side, extend
the low-side outrigger rst so that rm contact is
made with the ground. This will avoid tilting the
truck even more to the low side when the high-side
outrigger is lowered.
If one or both outriggers (of a pair) are not fully
extended, the outrigger spread is reduced (A-Frame
outriggers only). This reduces the stability of the
aerial lift. For example, when an outrigger rests on
a curb the outrigger spread is reduced.
The stability of the truck depends on the unit’s gross
weight, rmness and slope of the ground, weight in
the platform, tire pressure, and outrigger spread.
These factors are widely variable and caution must
be used when determining the stability of the unit.
If, under any condition, there is doubt about vehicle
stability do not operate the lift.
AERIAL LIFT OPERATIONS
This section emphasizes overall operating practices
for aerial lift operations. This information is presented
in the order of probable use while operating rst from
the ground, then from the platform and close to
energized conductors.
Start Up Procedures When Operating From the
Ground:
Position the truck as described in this section.
In extremely cold weather allow the aerial lift to idle
a few minutes before engaging a load. Further
consideration of cold weather operation is addressed
in Service Procedures Section of Service Manual,
“Hydraulic Oil Recommendation”.
Caution: if an aerial device has set idle for an
extended length of time (i.e. overnight) operate
it from the lower controls through its full range of
motion several times before an operator enters the
platform. This procedure conrms that the lift is
operating properly and purges any air that may have
become entrapped in the hydraulic system. Select
lower control operation with the lower control selector
switch. Refer to the diagrams of lower controls in
this section. Always disengage the boom tie down
by the position of the lift, the truck di󰀨erential
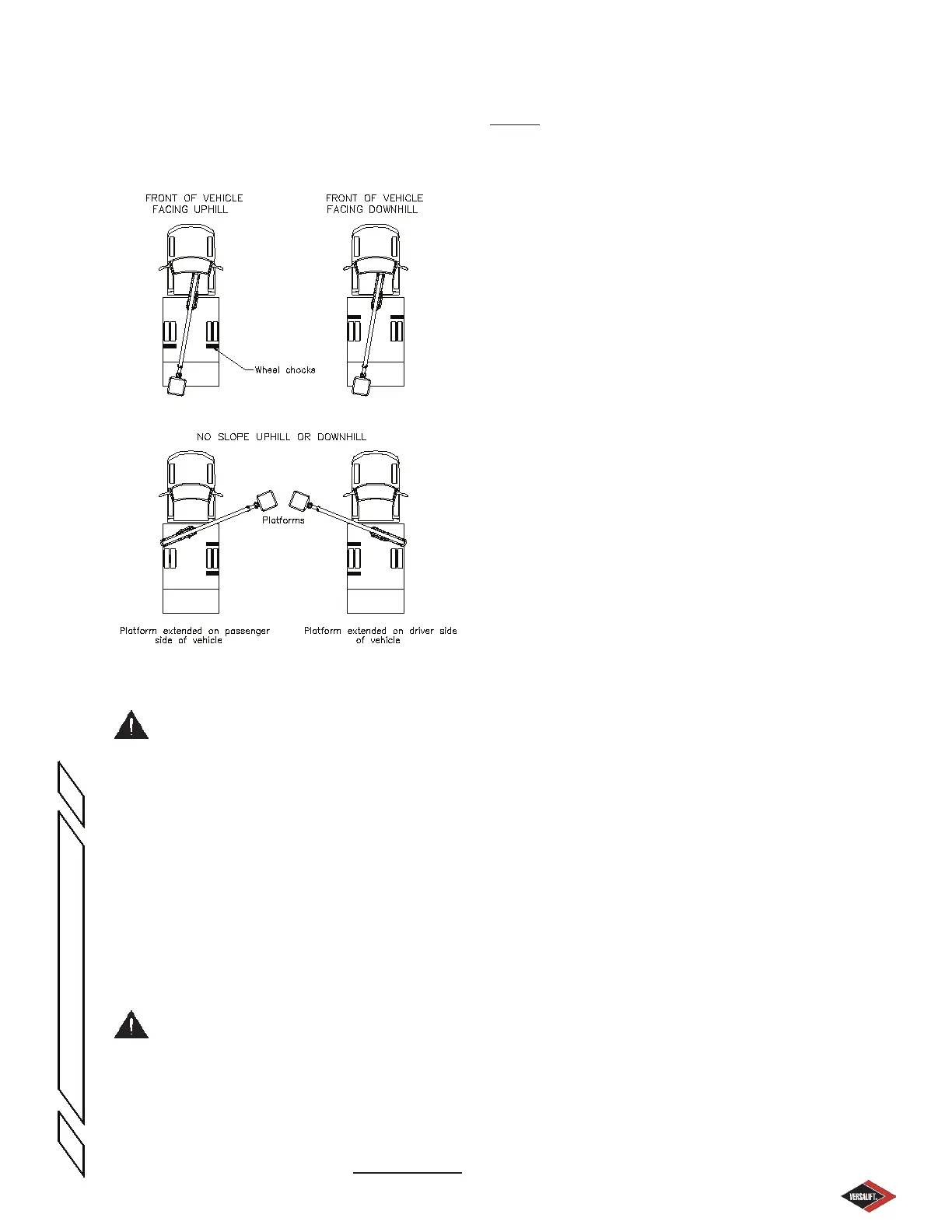
can allow the truck to roll. Refer to Figure
4.1 diagram for proper way of chocking the
wheels.
Wheel Chocking Diagram
Figure 4.1
DANGER: NEVER OPERATE THE LIFT
WITHOUT SETTING THE PARKING BRAKE AND
CHOCKING THE WHEELS. A ROLLING TRUCK
MAY CAUSE AN ACCIDENT RESULTING IN
DEATH OR SERIOUS INJURY.
3. Set up adequate cones or barricades to
mark the boundaries of the work site and
alert pedestrians and motorists. Never work
outside the boundaries.
OUTRIGGERS (If equipped) - To operate the
outriggers see “Outrigger Controls” in this section.
DANGER: NEVER OPERATE WITHOUT
EXTENDING THE OUTRIGGERS (IF EQUIPPED).
WITHOUT PROPER OUTRIGGER EXTENSION
THE UNIT MAY TIP RESULTING IN DEATH OR
SERIOUS INJURY.
After the truck has been properly parked on level

Table of Contents

Related product manuals