EasyManua.ls Logo

TMG TMG-RT83 - Page 30

TMG TMG-RT83
35 pages
Print Icon
To Next Page IconTo Next Page
To Next Page IconTo Next Page
To Previous Page IconTo Previous Page
To Previous Page IconTo Previous Page
Loading...
PARTS LIST
www.tmgindustrial.com 30/35 Toll Free:1-877-761-2819
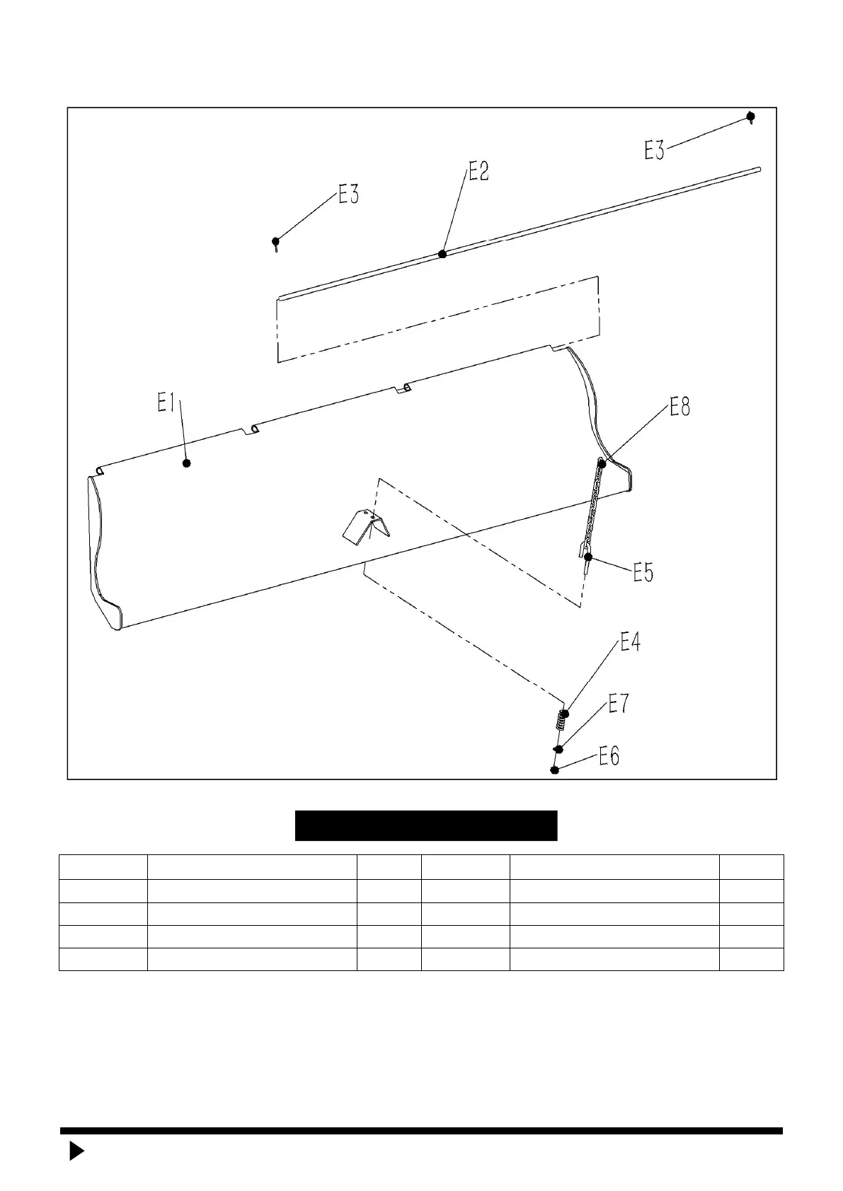
6. Baffles
Ref.No.
Description
Qty
Ref.No.
Description
Qty
E1
Rear baffle plate
1
E5
PTO shaft hook
1
E2
Baffle plate shaft
1
E6
Locknut M10
1
E3
Split pin 4x28
2
E7
Plain washer Ø10
1
E4
Pressure spring
1
E8
Galvanized chain8x30x28
1