EasyManua.ls Logo

Toa DP-SP3 - MUTE FUNCTION OPERATION; Mute Indicator Status

Toa DP-SP3
24 pages
Print Icon
To Next Page IconTo Next Page
To Next Page IconTo Next Page
To Previous Page IconTo Previous Page
To Previous Page IconTo Previous Page
Loading...
12
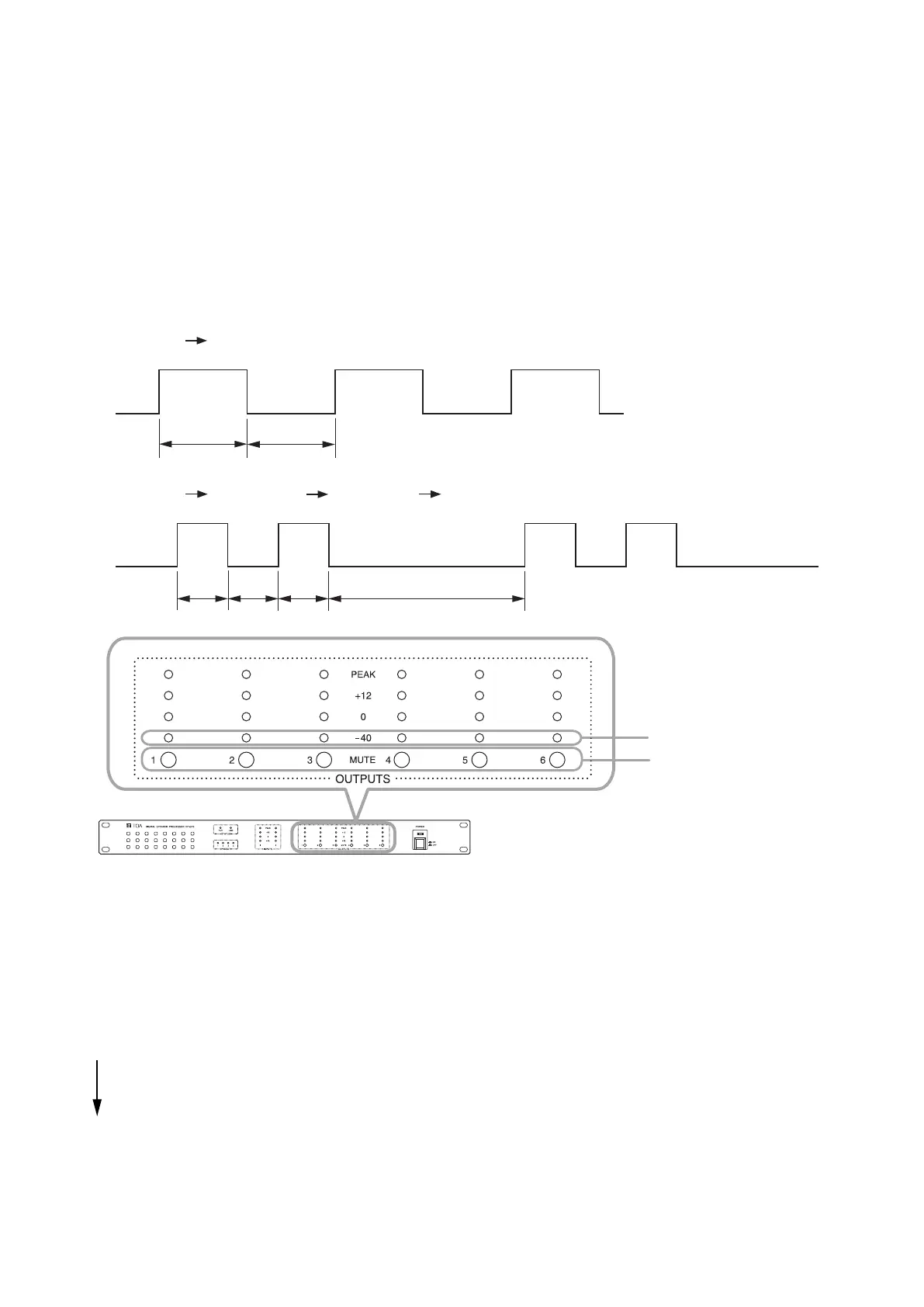
OFF
ON
0.5 sec 0.5 sec
OFF
ON
0.9 sec
0.2 sec 0.2 sec 0.2 sec
"−40" output level indicators
Mute switches
DP-SP3
8. MUTE FUNCTION OPERATION
The DP-SP3 can perform Mute function operation.
Usethisfunctionwhenwishingtomuteeachoutput.
UsetheDP-SP3unitorthesuppliedDP-SP3PCSoftwaretoperformmuteoperation.
The DP-SP3 can perform each individual output mute, while the DP-SP3 PC Software can perform both each
individualoutputmuteandsimultaneousmuteofalloutputs(MuteAll).
For the operations of the supplied DP-SP3 PC Software, read the separate DP-SP3 Software Instructions.
8.1. Mute Indicators
Fortheoutputchannelonwhichthemutefunctionisoperating,the“−40”levelindicatorofthecorresponding
outputchannellightsorange,ashes*
1
,orashesintermittently*
2
.
*
1
0.5sec.ON 0.5 sec. OFF, then this cycle repeats.
*
2
0.2sec.ON 0.2 sec. OFF 0.2sec.ON 0.9 sec. OFF, then this cycle repeats.
There is a priority order for the mute operating indications between the operation performed from the DP-
SP3 and that performed using the DP-SP3 PC Software. If multiple mute operations overlap, then the mute
operating indication with the higher priority is activated.
[Indication priority level of mute operation and indicator status]
Priority level
High
1.MuteAllusingtheDP-SP3PCSoftware: Intermittentlyashes(Flashestwice,thenrepeats.)
2.MuteandContactcontrolmutebytheDP-SP3: Flashes
3. An individual mute using the DP-SP3 PC Software
andExternalcontrolmute: Lights
Low

Related product manuals