EasyManua.ls Logo

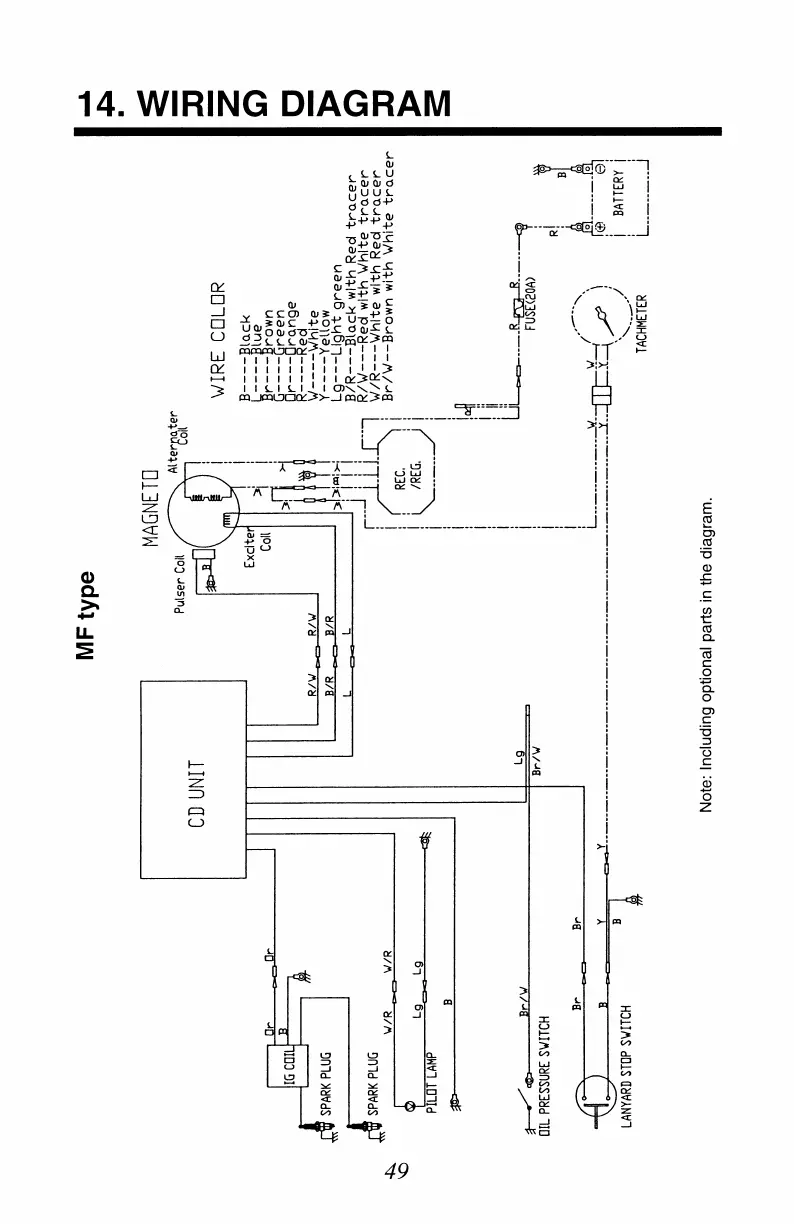
TOHATSU 8 - 14. Wiring Diagrams; MF Type Wiring Diagram

TOHATSU 8
59 pages
Print Icon
To Next Page IconTo Next Page
To Next Page IconTo Next Page
To Previous Page IconTo Previous Page
To Previous Page IconTo Previous Page
Loading...

Related product manuals