EasyManua.ls Logo

TOORX MSX-70 - Assembly Step 2: Front Vertical Frame and Seat Support

TOORX MSX-70
28 pages
Print Icon
To Next Page IconTo Next Page
To Next Page IconTo Next Page
To Previous Page IconTo Previous Page
To Previous Page IconTo Previous Page
Loading...
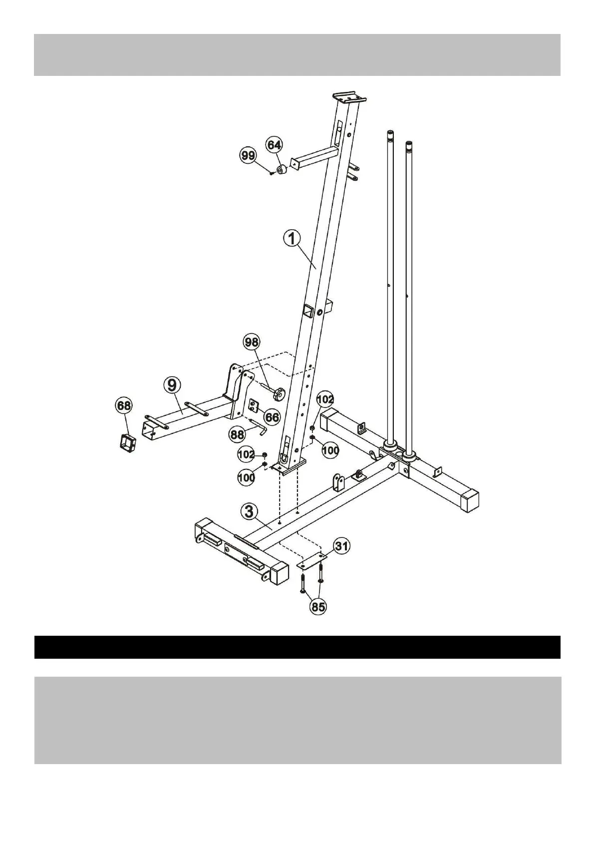
(A) Attach the front vertical frame (1) onto the main base frame(3) , carefully align the holes and secure
them with 2 pcs M10×85 carriage bolts(85), one pc bracket (31),2pcs 2pcsØ10 washer(100) and 2
pcs M10 Aircraft nut(102).
(B) Attach the seat pad support(9) to the front vertical frame(1) and secure them with M10*93 Lock
knob(98) and one pc select pin(88)
Assembly instructions
Step 2
7

Related product manuals