EasyManua.ls Logo

Topcom TS-5611 - Page 139

Topcom TS-5611
150 pages
Print Icon
To Next Page IconTo Next Page
To Next Page IconTo Next Page
To Previous Page IconTo Previous Page
To Previous Page IconTo Previous Page
Loading...
Sologic TS-5611 137
Sologic TS-5611
ČESKY
3 Seznamte se s vaším telefonem
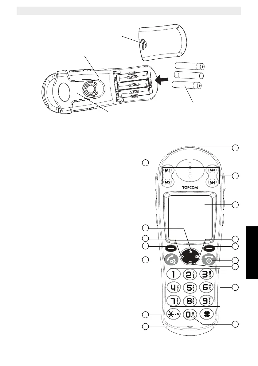
3.1 Tlačítka/LED kontrolky
Sluchátko
1. Vizuální zvonek
2. Tlačítko pamětí M1 - M4
3. Displej
4. Tlačítko pravý/opětovného
vytáčení/pauza
5. Tlačítko pravého menu
6. Tlačítko ukončení
hovoru/zapnout-vypnout
7. Tlačítko dolů/telefonní seznam
8. Alfanumerická tlačítka
9. Tlačítko na zapnutí
vibrujícího/vizuálního zvonku
10. Mikrofon
11. Zámek tlačítek
12. Tlačítko přihlášení/handsfree
13. Tlačítko levého menu
14. Levé tlačítko/tlačítko interního volání
15. Tlačítko nahoru/seznam hovorů
16. Sluchátko
-
+
+
-
+
-
Dobíjecí
Baterie
Spona pro upevnění na opasek
Kryt baterie
Pohled na zadní stranu telefonu
3
10
12
5
8
9
4
13
14
1
2
6
7
11
15
16

Related product manuals