EasyManua.ls Logo

Topcom TS-5611 - Page 32

Topcom TS-5611
150 pages
Print Icon
To Next Page IconTo Next Page
To Next Page IconTo Next Page
To Previous Page IconTo Previous Page
To Previous Page IconTo Previous Page
Loading...
30 Sologic TS-5611
Sologic TS-5611
3 Présentation de votre téléphone
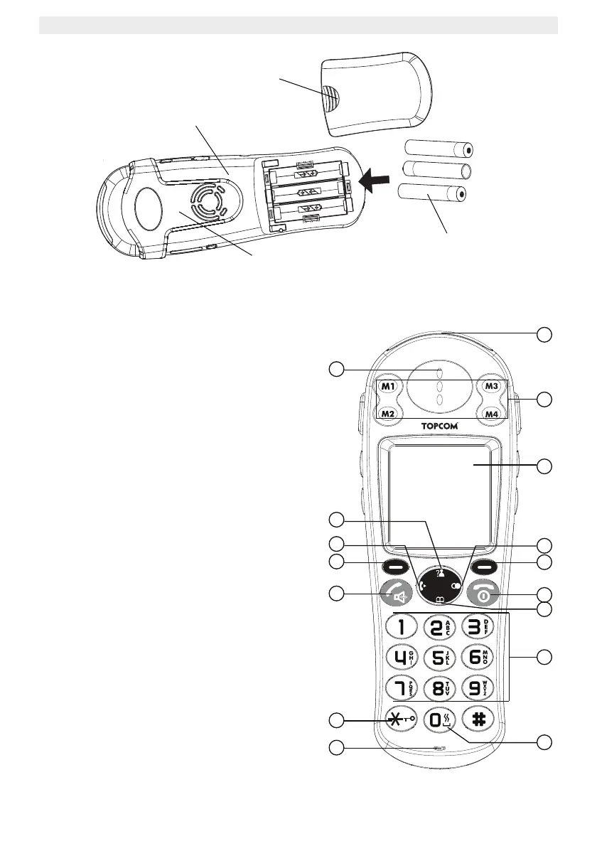
3.1 Touches et voyants lumineux
Combiné
1. Sonnerie visuelle
2. Touches mémoire M1 - M4
3. Écran
4. Touche Droite/Recomposition/Pause
5. Touche contextuelle droite
6. Touche Fin d'appel/Marche-Arrêt
7. Touche Bas/Répertoire
8. Touches alphanumériques
9. Touche Vibreur/Sonnerie visuelle
10. Micro
11. Touche de verrouillage du clavier
12. Touche Prise d'appel/Mains-libres
13. Touche contextuelle gauche
14. Touche Gauche/Appel interne
15. Touche Haut/Journal des appels
16. Écouteur
-
+
+
-
+
-
rechargeables
Piles
Clip de
ceinture
Couvercle du compartiment des piles
Vue arrière du combiné
3
10
12
5
8
9
4
13
14
1
2
6
7
11
15
16

Related product manuals