EasyManua.ls Logo

Topcon PS-105A - 3-D Coordinate Measurement

Topcon PS-105A
183 pages
Print Icon
To Next Page IconTo Next Page
To Next Page IconTo Next Page
To Previous Page IconTo Previous Page
To Previous Page IconTo Previous Page
Loading...
14. COORDINATE MEASUREMENT
82
& Horizontal angle settings
Azimuth (set both horizontal and azimuth angles to the same value)/H.ang (input both horizontal
and azimuth angles)/None (input azimuth angle only)/0 SET (horizontal angle set to 0°)
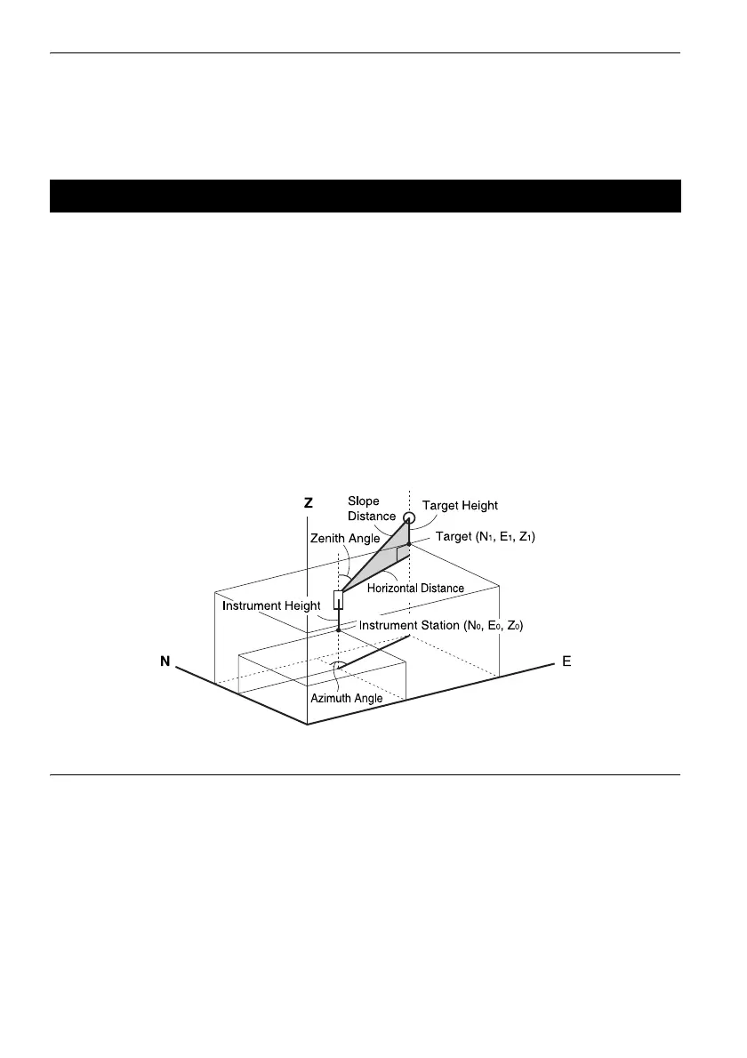
The coordinate values of the target can be found by measuring the target based on the settings of the
instrument station and backsight station.
The coordinate values of the target are calculated using the following formulae.
N1 Coordinate = N0 + S x sinZ x cosAz
E1 Coordinate = E0 + S x sinZ x sinAz
Z1 Coordinate = Z0 + S x cosZ + ih - th
N0: Station point N coordinate S: Slope distance ih: Instrument height
E0: Station point E coordinate Z: Zenith angle th: Target height
Z0: Station point Z coordinate Az: Direction angle
"Null" coordinates will not be included in calculations. "Null" is not the same as zero.
PROCEDURE
1. Sight the target at the target point.
14.3 3-D Coordinate Measurement

Table of Contents

Related product manuals