EasyManua.ls Logo

Toro 22542 - Replacing the Rotor Assembly

Toro 22542
12 pages
Print Icon
To Next Page IconTo Next Page
To Next Page IconTo Next Page
To Previous Page IconTo Previous Page
To Previous Page IconTo Previous Page
Loading...
6.Installthenewtine,orientingitthesame
directionastheoldtine(Figure6).
7.Torquetheboltto183to223N∙m(135to165
ft-lb).
ReplacingtheRotor
Assembly
RemovingtheRotorAssembly
1.Removethetillerfromthetractionunit.
2.Useahoisttolaythetillerbackonthe
attachmentplate.
3.Removethenut(5/8inch)andbolt(5/8x4
inches)securingthedriveadaptertotherotor
assembly(Figure7).
g271906
Figure7
1.Boltandnut2.Driveadapter
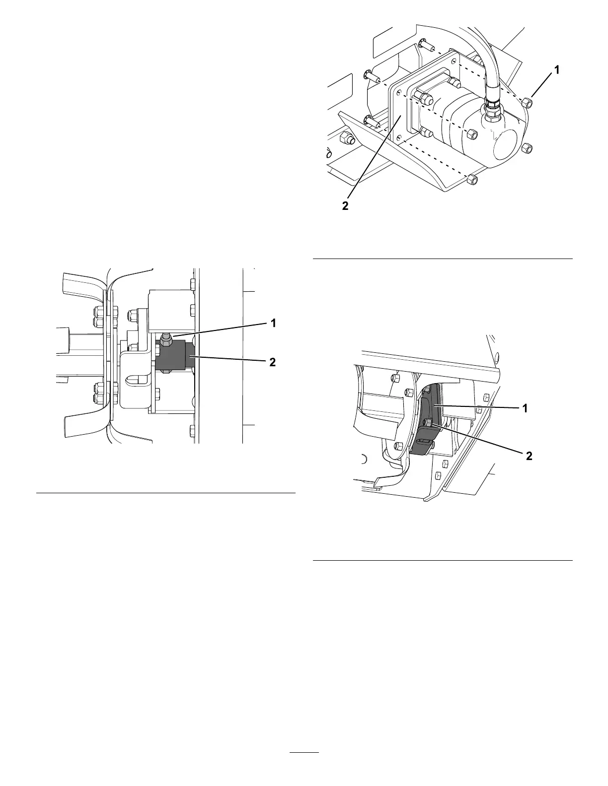
4.Removethe4nuts(9/16inch)securingthe
motormount(Figure8).Removethemountwith
themotor.
g271905
Figure8
1.Nut—9/16inch(4)
2.Motormount
5.Supporttherotorassemblyusingahoistand
removethe4locknuts(5/8inch),4washers,
and4bolts(5/8x2-1/2inches)securingthe
bearingguardandbearingoneachendofthe
rotorassembly(Figure9).
g271907
Figure9
1.Locknut,washer,andbolt
(4)
2.Bearingguardandbearing
6.Removetherotorassembly.
9

Related product manuals