EasyManua.ls Logo

Toro 30789 - Hydraulic Schematic

Toro 30789
48 pages
Print Icon
To Next Page IconTo Next Page
To Next Page IconTo Next Page
To Previous Page IconTo Previous Page
To Previous Page IconTo Previous Page
Loading...
43
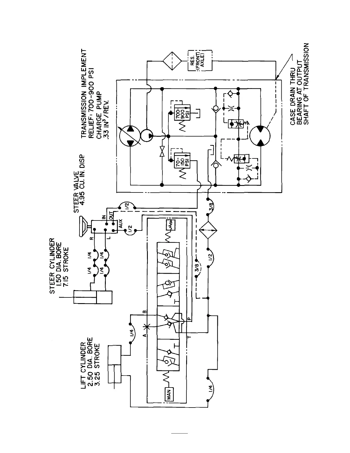
Hydraulic Schematic

Table of Contents

Related product manuals