EasyManua.ls Logo

Toro 74682 - Leveling the Mower Deck

Toro 74682
60 pages
Print Icon
To Next Page IconTo Next Page
To Next Page IconTo Next Page
To Previous Page IconTo Previous Page
To Previous Page IconTo Previous Page
Loading...
LevelingtheMowerDeck
Checktoensurethatthemowerdeckislevel
wheneveryouinstallthemowerorwhenyouseean
unevencutonyourlawn.
Checkthemowerdeckforbentbladespriorto
leveling;removeandreplaceanybentblades;refer
totheServicingtheCuttingBlades(page45)before
continuing.
Levelthemowerdeckside-to-siderst,thenadjust
thefronttorearslope.
Requirements:
Themachinemustbeonalevelsurface.
Alltiresmustbeproperlyinated;refertoChecking
theTirePressure(page42).
LevelingfromSidetoSide
1.Parkthemachineonalevelsurface,disengage
theblade-controlswitch(PTO),andengagethe
parkingbrake.
2.Shutofftheengine,removethekey,andwait
forallmovingpartstostopbeforeleavingthe
operatingposition.
3.Settheheight-of-cutlevertothemiddleposition.
4.Carefullyrotatetheblade(s)sothattheyareall
sidetoside(Figure64andFigure65).
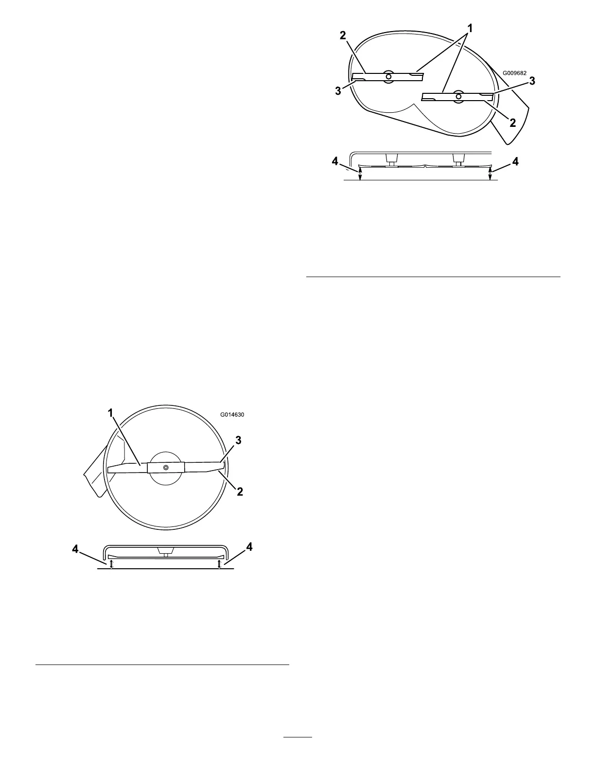
g014630
Figure64
MowerDeckswith1Blade
1.Bladesidetoside
3.Outsidecuttingedges
2.Sailareaoftheblade4.Measurefromthetipofthe
bladetotheatsurface
here.
g009682
Figure65
MowerDeckswith2Blades
1.Bladessidetoside
3.Outsidecuttingedges
2.Sailareaoftheblade4.Measurefromthetipofthe
bladetotheatsurface
here.
5.Measurebetweentheoutsidecuttingedgesand
theatsurface(Figure64andFigure65).
Note:Ifbothmeasurementsarenotwithin
5mm(3/16inch),anadjustmentisrequired;
continuewiththisprocedure.
6.Movetotheleftsideofthemachine.
7.Loosenthesidelockingnut.
8.Raiseorlowertheleftsideofthemowerdeck
byrotatingtherearlockingnut(Figure66).
Note:Rotatetherearlockingnutclockwiseto
raisethemowerdeck;rotatetherearlocking
nutcounter-clockwisetolowerthemowerdeck
(Figure66).
48

Table of Contents

Related product manuals