EasyManua.ls Logo

Torque F9 - Page 11

Torque F9
41 pages
Print Icon
To Next Page IconTo Next Page
To Next Page IconTo Next Page
To Previous Page IconTo Previous Page
To Previous Page IconTo Previous Page
Loading...
50 180
3
190150 170160
6
130 14012090 110100403010 706020 80
1 2 4 5 7
200
3
2
14
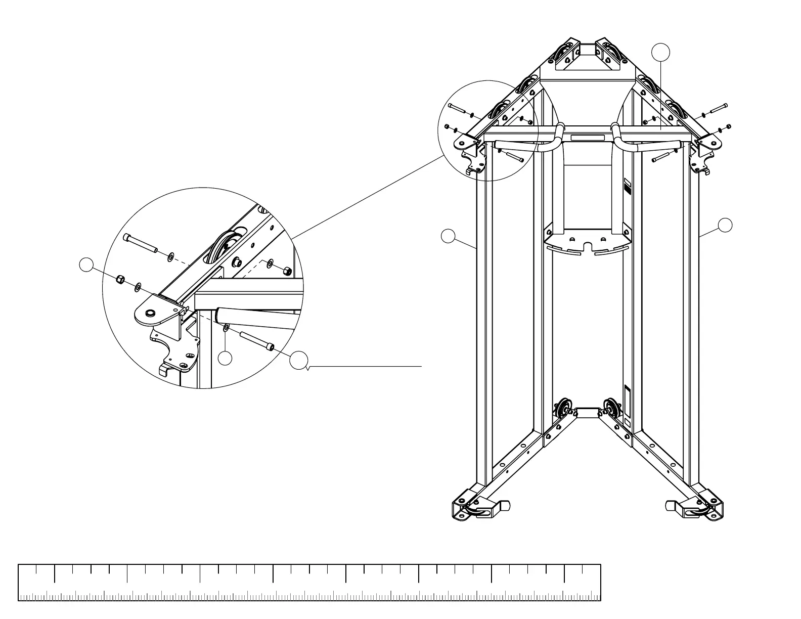
(2X)
11
3/8 X 2-3/4" (70mm)
5
7
11
After this step has been assembled,
SECURELY
tighten
all bolt connections from this step and previous steps.
STEP 6

Related product manuals