EasyManua.ls Logo

Torque F9 - Page 7

Torque F9
41 pages
Print Icon
To Next Page IconTo Next Page
To Next Page IconTo Next Page
To Previous Page IconTo Previous Page
To Previous Page IconTo Previous Page
Loading...
50 180
3
190150 170160
6
130 14012090 110100403010 706020 80
1 2 4 5 7
200
8
9
5
7
4
6
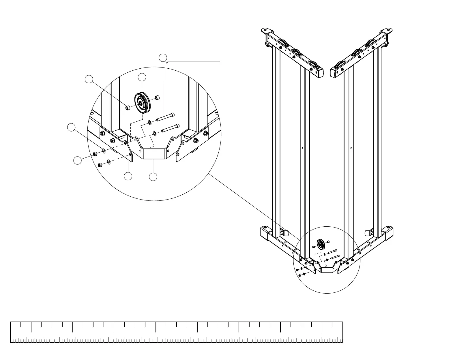
3/8 X 3" (76mm)
1
7
LOOSELY
assemble bolt connections in this step.
STEP 2

Related product manuals