EasyManua.ls Logo

Trane 4MXW3812A1 - Refrigerant Piping at the Outdoor Unit; Connecting Refrigerant Pipes to Outdoor Unit Valves; Ensuring Proper Insulation of Indoor Connections

Trane 4MXW3812A1
42 pages
Print Icon
To Next Page IconTo Next Page
To Next Page IconTo Next Page
To Previous Page IconTo Previous Page
To Previous Page IconTo Previous Page
Loading...
NOTICE
1. To prevent distortion and breaking of the pipe, bend the pipe with a radius of curvature of 6 in.
(150 mm) or more. Use a tubing bender when forming the copper tubing into a bend.
2. If the pipe is bent repeatedly at the same place, it will break.
CAUTION
Connect the gas pipe after connecting the liquid pipe completely.
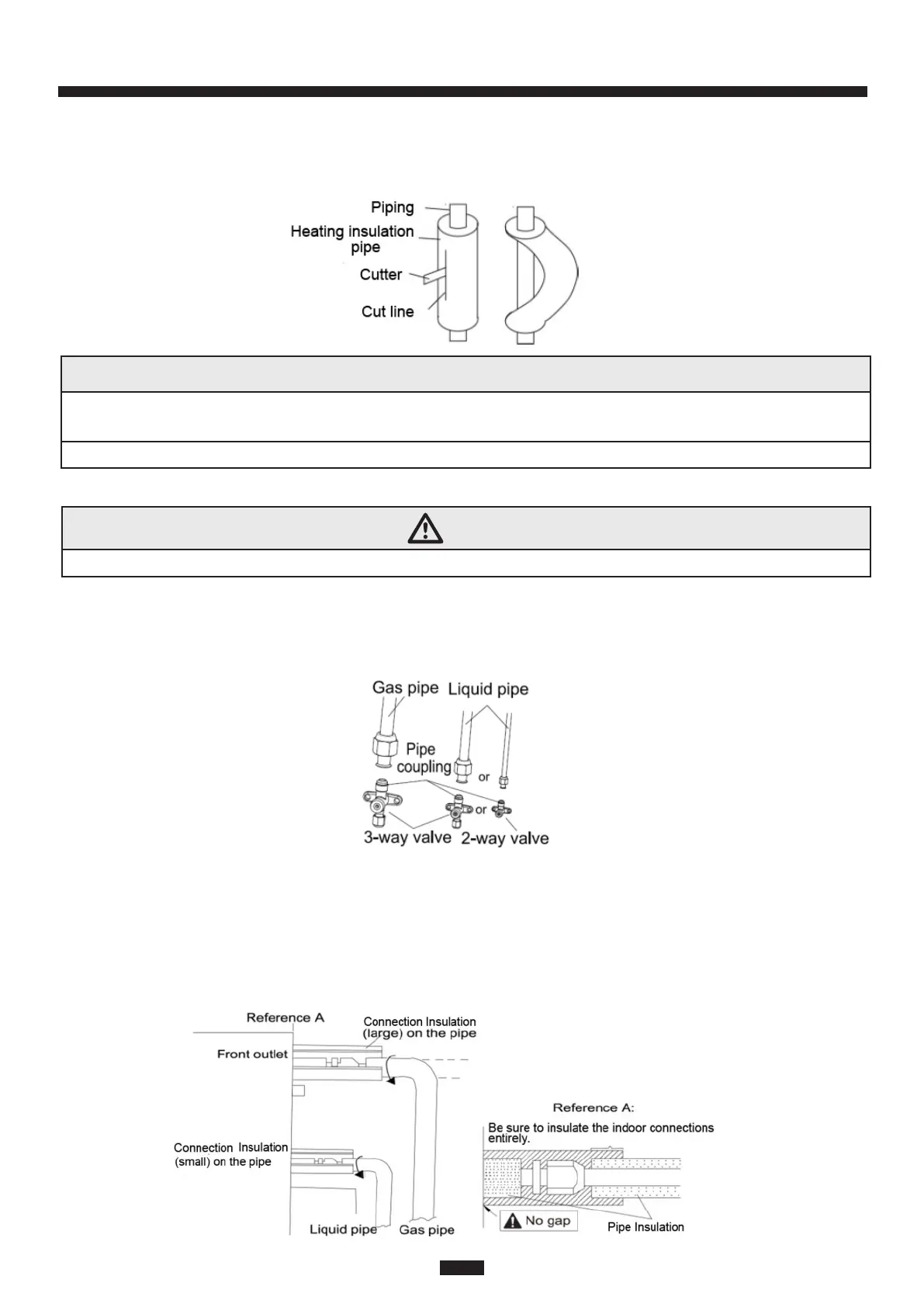
Refrigerant Piping at the Outdoor Unit
Tighten the flare nut of the connection pipe at the outdoor unit valve connector. Follow the flare nut
guidelines in this manual.
Insulating the Refrigerant Piping and Connections
4. Do not bend the pipe while insulated. First, cut the insulation with a sharp cutting tool and
expose it to the appropriate bend radius, as shown below. After bending the pipe, replace the
insulation and seal it with pipe wrap tape.
1. The refrigerant pipes should be insulated and wrapped with appropriate insulating
material and wrapping tape. This will prevent condensation, water leakage and
damage to the insulating material.
2. The connections at the indoor unit should be wrapped with insulating material. No
gap is allowed on the joint of the indoor unit, as shown below.
22
38 Series Mini-Split

Related product manuals