EasyManua.ls Logo

Trane 4TXM2324BF300AA - Page 125

Trane 4TXM2324BF300AA
156 pages
Print Icon
To Next Page IconTo Next Page
To Next Page IconTo Next Page
To Previous Page IconTo Previous Page
To Previous Page IconTo Previous Page
Loading...
123
3.2.11. Oil return operation control
Unitary:
A Entering condition
When the compressor running frequency is lower than 58Hz continuously in all and outdoor
unit Tcm is lower than 50 degree for 5 hours, the system will enter oil return operation. In the
course of mode changeover, manual unit stop or protective unit stop, the time will be
accumulative. After compressor restarts up, the time will counted continuously. In counting
time for 5 hour, if the compressor running frequency is over 80Hz for 10 minutes continuously,
the time will be cleared. Also after the heating defrosting , the time will be cleared.
B Procedure
Cooling mode: refer to “the oil return procedure in cooling mode”
Heating mode: refer to “the oil return procedure in heating mode”
C The protection treatment in oil return operation:
In the course of cooling oil return, because of all kinds of protection or abnormal unit stop,
after the unit restart, the time will not be cleared, the system need another oil return operation.
In the refrigerant flow course in oil return of cooling mode or after oil return, and
within 5
minutes after the refrigerant being eliminated is over, the anti-freeze protection and low
pressure protection are invalid, other protection is valid.
In the course of heating oil return ,because of all kinds of protection or abnormal unit stop, the
system need not another oil return operation after the unit stop for 3 minutes and enter in
heating mode directly. In the course of changing to cooling oil return, the anti-freeze
protection and low pressure protection are invalid, other protection is valid.
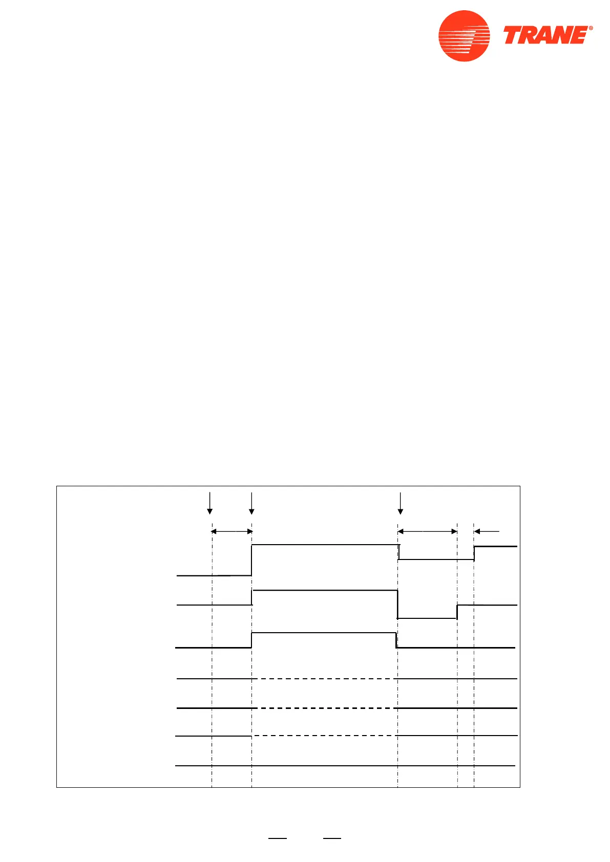
Oil return procedure in cooling mode:
Send oil return signal oil return beginning oil return over
ref.eliminated 30s
80 Hz
E
40HZ
E
Inverter compressor auto FQY
300pulse
E
outdoor unit PMV auto open angle auto open angle
120pulseE
Outdoor fan motor auto operation autoTC or ambient control auto operation
running indoor motor auto operation autoset fan speed auto operation
stop indoor motor stop stop stop
4-way valve OFF OFF OFF
60S
Send oil return signal oil return begins oil return over
60s ref. eliminated 30s
Oil return frequency auto frequency
Low frequency
Inverter compressor auto frequency
350pulse(E)
running indoor PMV auto angle auto angle
120pulse(E)
80(E)
stopped indoor PMV OFF angle 5(E) OFF angle 5(E)
Outdoor motor AUTO AUTO (TC or ambient temp. control) AUTO
running indoor motor AUTO AUTO (set fan speed) AUTO
stopped indoor motor STOP STOP STOP
4-way valve OFF OFF OFF
MULTI:
D: Entering condition
When the compressor running frequency is lower than 58Hz (E) continuously for 8 hrs, the system
will enter oil return operation. In the course of mode changeover, manual unit stop or protective
unit stop, the time will be accumulative. After the compressor restarts up, the time will be counted
continuously. In a continuous 8 hrs, if the compressor running frequency is not less than 72Hz for
over 10 minutes continuously, the accumulative time will be cleared. Also after the heating
defrosting, the time will be cleared.
E: Procedure
Cooling mode: refer to “the oil return procedure in cooling mode”
Heating mode: refer to “the oil return procedure in heating mode”
F: The protection treatment in oil return operation
In the course of oil return, because of protection or abnormal unit stop, after the unit restarts up,
the time will not be cleared, the system will need another oil return operation. In the refrigerant
flow course in the oil return of cooling mode or after the oil return, and within 5 minutes after the
refrigerant being eliminated is over, the anti-freezed protection is invalid, and also the low voltage
protection is invalid. But the other protection is valid.
In the course of oil return from heating mode to cooling mode, if abnormal condition occurs or the
unit stops for protection, then the system needs not another oil return within 3 minutes after the
unit stops and it will start up directly, then to heating mode.
In the course of oil return from heating mode to cooling mode, the anti-freezed protection is null
and void, and the low voltage protection is null either. The other protection is valid.
Oil return procedure in cooling mode:
6.6.10

Related product manuals