EasyManua.ls Logo

Trane 4TXM2324BF300AA - Page 80

Trane 4TXM2324BF300AA
156 pages
Print Icon
To Next Page IconTo Next Page
To Next Page IconTo Next Page
To Previous Page IconTo Previous Page
To Previous Page IconTo Previous Page
Loading...
78
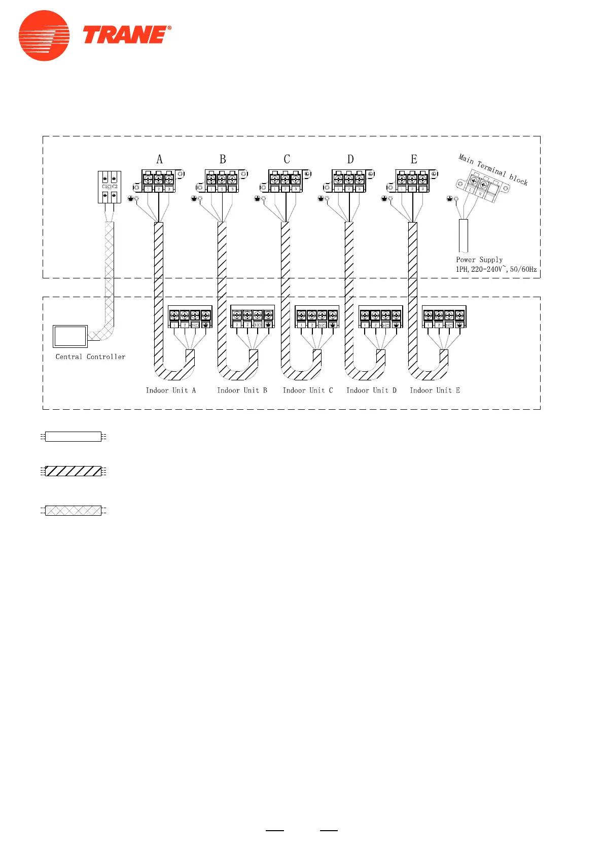
4TXM2336BF500AA 4TXM2342BF500AA
Teminal block
Indoor Unit A
Indoor Unit B
Indoor Unit C
Indoor Unit D
Power Supply Cable: H05RN-F3G 4.0mm
2
Connecting Cable: H05RN-F4G 2.0mm
2
Connecting Cable: H05RN-F2G 2.0mm
2
Power Supply
1PH,220~240V
~
,50/60Hz
Connect the connecting wires between indoor and outdoor units and ensure the sequence numbers on terminals
match with each other.
Power Supply Cable: H05RN-F3g 4.0mm
2
Connecting Cable: H05RN-F4G 2.0mm
2
Connecting Cable: H05RN-F4G 2.0mm
2

Related product manuals