EasyManua.ls Logo

Trane CLCH-IM-16A - Refrigerant Coil Piping

Trane CLCH-IM-16A
71 pages
To Next Page IconTo Next Page
To Next Page IconTo Next Page
To Previous Page IconTo Previous Page
To Previous Page IconTo Previous Page
Loading...
46 CLCH-IM-16A
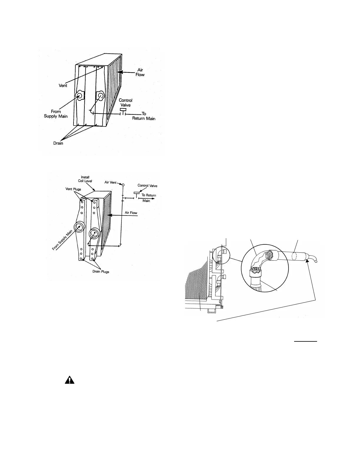
Figure 41
Typical Piping for Type DD Water Coil
Figure 42
Typical Piping for Type W Water Coil
Type W, WC, UA, UW, and UU hot water coils are
self-venting only if the water velocity exceeds 1.5 feet
per second (fps). If it is below 1.5 fps, vent by one of
the following methods:
1 Install an air vent in the top pipe plug tapping of
the return header.
2 Vent from the top return header horizontally to the
return piping when the return line rises and is
above the top of the coil. (See
Figure 41
through
Figure 42
.)
CAUTION
Do not throttle or modulate the
water flow for coils that are
exposed to freezing temperatures.
Coil damage may result from coil
freeze-up.
3 Install a drain line and shutoff valve in the supply
line near the coil.
Type W, D, K, UW and UU water coils are self-
venting only if the water velocity exceeds 1.2 fps.
Type DD coils are self venting only if the water
velocity exceeds 2.5 fps. If water velocity is below
these minimums vent by following one of the
followings methods:
q Install an air vent in the top pipe plug tapping of
the return header
q Vent from the top return header horizontally to the
return piping when the return line rises and is
above the top of the coil.
Refrigerant Coil Piping
Units that are UL listed shall not have refrigerant
temperatures and pressures exceeding that listed on
the coil nameplate.
For unit-installed refrigerant coils, packed elbows are
provided. Pipe connections can be made as shown in
Figure 43
.
Figure 43
Type F Refrigerant Coil with Packed Elbow
NOTE: TYPE F AND UF COILS HAVE BEEN
DEHYDRATED AND CHARGED WITH A HOLDING
CHARGE OF DRY NITROGEN. TO PREVENT LEAKS
AND SYSTEM CONTAMINATION, DO NOT BREAK THE
SEALS UNTIL THE COIL IS INSTALLED.
1 Check that the coil is installed correctly with
airflow in the same direction as indicated on the
Perforated Plate
(Packed Elbow)
Panel
Distributor
Coil
Cut Here For Piping
NOTE: TYPE UF COILS ARE FITTED WITH 5/8”
TUBE AND CAP ASSEMBLY TO SEAL
VACUUM AND NITROGEN CHARGE.
DO NOT
USE CAP AND TUBE TO MAKE
REFRIGERATION CONNECTIONS.

Related product manuals