EasyManua.ls Logo

Trane RT-PRC010-EN - Page 87

Trane RT-PRC010-EN
104 pages
Print Icon
To Next Page IconTo Next Page
To Next Page IconTo Next Page
To Previous Page IconTo Previous Page
To Previous Page IconTo Previous Page
Loading...
87RT-PRC010-EN
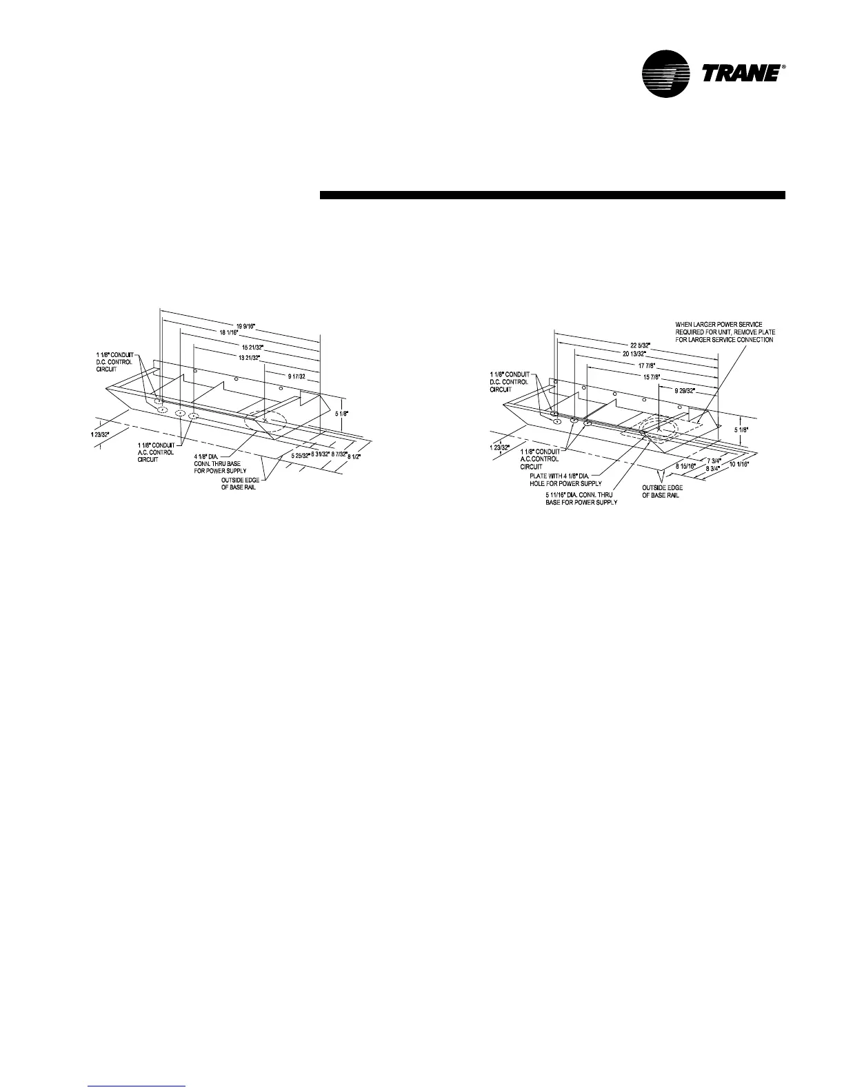
DETAIL “B” COVERS 40, 60, 70 AND 75 TON UNITS
DETAIL “A” COVERS 20, 25, 30, 50 AND 55 TON UNITS
Dimensional
Data
(20 - 75 Tons)
Figure DD-1 20-75 Ton Cooling Only Unit Dimensions SAHF Continued

Related product manuals