EasyManua.ls Logo

Trane SEHJ090-162 - Air-Cooled and Evaporative Condensers-Three-Piece Unit Fit up

Trane SEHJ090-162
200 pages
Print Icon
To Next Page IconTo Next Page
To Next Page IconTo Next Page
To Previous Page IconTo Previous Page
To Previous Page IconTo Previous Page
Loading...
Installation
52 RT-SVX24J-EN
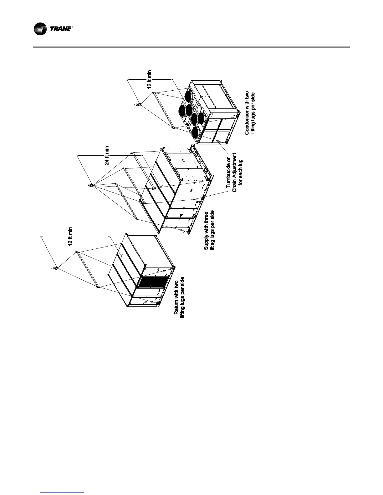
Figure 24. Typical unit rigging—three-piece unit
Air-Cooled and Evaporative Condensers—
Three-Piece Unit Fit Up
1. Rig and lift outside air section and evaporator section
separately.
2. Do not assemble unit on ground and attempt to lift to
roof. Unit must be assembled on roof curb.
3. Attach rail guide provided to bottom of the evaporator
base rails as shown with
screws.
4. Rig and set the evaporator section onto the roof curb
(aligned with supply end).
5. R
emove and discard shipping protection panels and
top block-offs from
evaporator section.
6. Remove side panels and roof cap from evaporator
section and set aside to
be assembled later.
7. Apply gasket to the base channel and butyl tape to the
base rail edge of the
evaporator section.
8. Remove and discard shipping protection panels and
top block off
from outside air section.
9. Rig and set outside air section onto roof curb using the
rail guides as an alignment
aid. Outside air section
must be within 2.0" from the evaporator section.
10. Use 0.75" x 24" threaded rod, nuts, washers and
backing plate provided
to pull and secure sections
together.This must be done using the lifting lugs at the
unit split as shown.
11. Use 0.375" bolts, nuts and washers provided to pull
and secure the roof rails
together.This must be done
using the brackets on the roof rails as shown.
12. Attach roof splice plate to bottom side of roof panels at
the unit split with ¼"
sheet metal screws.
13. Add bullwrap to electrical wiring.
14. Connect power and control wiring at the unit split.
Place power wiring connectors
inside junction box.

Table of Contents

Related product manuals